01.October.2015
Style of Speed Further steps
What a start of the month. We have taken an electric energy storage device and a powertrain for the development of a new propulsion system variant for our airliners.
In a subsequent step we designed some potential aircraft models and looked at our related model series to analyse if there are re- dundancies, advantageous ways of harmonization, or/and conclusive reasons for starting the next generations of the already existing models instead of adding new ones.
02.October.2015
Ontonics Further steps
We improved a first technology.
We improved a second technology of us (see the Further steps of the 24th of August 2015), that uses the first technology, respect- ively we improved the integration of the first technology with a second technology.
We developed a third technology, which uses one or both of these improved technologies, and a related control system.
We improved a device based on the third technology.
03.October.2015
Ontonics Further steps
We developed a hardware architecture further by using some solutions developed recently. Indeed: This thing gets better and better as well. And no, this time it is not about a Head-Mounted Display (HMD) for Virtual Reality or Mixed Reality (MR).
While reading about the nine technologies of the National Aero- nautics and Space Administration (NASA) shown in the movie "The Martian", we developed our variants of the so-called "oxygenator", which is a system that generates oxygen using carbon dioxide.
In addition, we worked a little on our older deep space high-quality telecommunication system.
Furthermore, in relation with the special variant of a system ment- ioned in the Further steps of the 27th of August 2015 we found out that we can apply the solution in a different way as well.
Ontoscope Further steps
We developed a specific variant of a model.
Also, we developed a specific variant of a model.
intelliTablet Further steps
We developed a specific variant of a model.
iRaiment Further steps
We developed a specific variant of a model.
Also, we developed another version of a technology.
Style of Speed Further steps
We developed two other very clean diesel engines (see also the Further steps of the 26th of September 2015) and some variants of them.
The most clean variants of our diesel engines are even suitable for indoor use, e.g. forklifts.
We also developed a specific variant of an engine.
Furthermore, we decided to use our new engines, specifically the diesel engines, for our upcoming truck models, inclusive the auto- nomous System Trucks (see also the related Integrated Wheeled Intelligence (IWI) issue #8 publicated on the 6th of May 2015), because we have all competitive advantages in this market segment as well.
04.October.2015
Ontonics Further steps
We improved applications, which are based on the antenna array features and capabilities of our Multi-Communication-Core (MCC) architecture, which again is based on our Wireless Supercomputer (WiSer) technology (see also the related recall in the Further steps of the 18th of August 2015 and the Further steps of OntoLix and OntoLinux referenced therein).
05.October.2015
iRaiment Further steps
We worked on the next models of our FitWatch series. The idea for these models is relatively old and has also been discussed by watch enthusiasts on the web before, if we remember it correctly, and similar models have been presented by at least two other companies recently.
Nevertheless, we have developed our variants of this concept as well that resulted in the first two models having several basic feat- ures. In the next future we will publicate the complete and detailed informations.
Besides our new models, we have developed a module further, so that its application is much easier for a user, and as result we have three variants of this module.
Also, we worked on our version of a technology mentioned in the Further steps of the 3rd of October 2015, which resulted into two slightly different variants.
06.October.2015
Comment of the Day
"Don't get caught", [Code of Conduct of an Evil Empire]
07.October.2015
Style of Speed Further steps
We developed our fourth very efficient and clean diesel engine and some variants of it.
In addition, some special features of this diesel engine have been added to a variant of our second and third diesel engines (see also the Further steps of the 26th of September 2015 and 3rd of October 2015).
Furthermore, we took a look into our stock and found a fifth clean diesel engine technology based on the third diesel engine.
In this relation, we have selected two existing motor blocks of vehicle manufacturers, some engine components of automotive suppliers, two diesel engine models of us, and some new engine components of us, and begun their production phase. With the support of a large manufacturer running prototypes could be available in some few weeks.
As an unexpected side effect but already seen as the technological evolution in this field and even more fascinating, a powertrain based on these diesel engines already challenges the electric powertrain comprising battery and electric motor in all comparisons.
But as an absolutely unexpected side effect we have become the worldwide leader in internal combustion compression-ignition engine technologies in only 11 days and could strengthen our leadership in clean internal combustion engines.
Innovation happens.
08.October.2015
iRaiment Further steps
We remembered a first technology, which we have already adapted in parts for a second technology in the past and now adapted it once again in two ways:
The first way is to use the first technology for its intended pur- pose, but also in relation with one technology developed recently and one technology improved recently.
The second way is to use the first technology together with the second technology and the two other technologies.
In a subsequent step, we also improved the related modules of a hardware architecture and tried to estimate how long the runtime of mobile devices can be increased. A known problem with such an estimation is the determination of the usage profiles, but at least we are confident that around 80% of all users of such mobile devices will be extremely surprised how long they will run without charging.
Finally, we used the improved hardware architecture to continue the development of at least one upcoming model series mentioned in an older Further steps.
10.October.2015
iRaiment Further steps
We designed our next masterpiece smartwatch. If you like a watch of another company, which is hyped as a fashion icon for no com- prehensible reasons, then this model will cast a spell over you.
11.October.2015
Comment of the Day
C-Shock
C-Shox
Shoxe
Shucks
Chux
Cyber trek
iRaiment Further steps
As we already announced in the Further steps of the 8th of January 2015 and 5th of October 2015, we are working on the next models of our FitWatch series, which resulted in a larger sport watch series, which again includes our new C-Shock series.
Today, we would like to show an image that gives a first impression of the first C-Shock model. For sure, the design of this basic model will be changed to give it our very special style.

© Casio and iRaiment
Depending on the general type, the mobile device is a feature watch with a reflective colour display or a complete smartwatch with an LED display. Additionally, several features are available as options, which comprise
different kinds of materials, such as high-tensile plastics, carbon fibre-reinforced polymers, and high-strength, lightweight metal alloys (e.g. titanium),
replaceable battery strap/accumulator band (patent pending),
rotating bezel respectively mechanical jog dial,
Active Bezel,
second time indicator framing the display (see the Ontonics Further steps and the Original vs. Inspiration of the 7th of July 2014, specifically the Stargate watch design, and also the Investigations:: Multimedia of the 29th of August 2014; patent pending), and
much more fascinating high technologies, which will be disclosed at a later time.
In addition, we have designed a special model and accompanying platform for civil services, including the military and special task forces. This is only the beginning.
An interesting side note is that the first generation of the feature watch variant with accumulator band will have a runtime of around 3 weeks, followed by an improved generation with a runtime of around 6 weeks, which will be made available as an upgrade for owners of the first generation model, and an enhanced generation with a run- time of at least 3 months (see also the Further steps of the 3rd of September 2015).
We have talked about this outstanding performance several times in the past, but now we are making it a reality, potentially together with the companies Casio, Alcatel Onetouch, or any other company that fulfills our code of conduct.
12.October.2015
iRaiment Further steps
Because another entity has publicated our original concept of a modular System Smartwatch or Smart System Watch, that comprises our wearable computing cores (see for example the related section Sm@rtWatch of our Innovation-Pipeline of Ontonics) and other related technologies of us, we would like to show the relavant drawings of a specific embodiment today.


© iRaiment
Important to note is that the invention is of a more general nature and therefore not dependent on a specific attachment of a battery strap/accumulator band to a housing or case of a wrist-worn wear- able computer.
13.October.2015
Comment of the Day
Cyber shock
iRaiment Further steps
Today, we would like to show an image that gives a first impression of the second model of our C-Shock series as part of our FitWatch series respectively smart sport watch series.

© Casio and iRaiment
14.October.2015
iRaiment Further steps
Today, we sent again shockwaves through the cyberspace by giving first impressions of the newest models of our C-Shock series as part of our FitWatch series respectively smart sport watch series.
Shown in the three lower images are design variants with a ring around the display, which either will be replaced with our Active Bezel, a larger display, or/and a second time indicator integrated in the ring or the case. As usual, all designs are subject to change.

© Casio and iRaiment
15.October.2015
Ontonics Further steps
At first, we designed an anti-shark device only for surfers. But it might be applicable for swimmers and divers as well.
Furthermore, we improved applications of some related integrated technologies.
iRaiment Further steps
We worked on one of our next products. When we estimated the electric energy consumption we found out that we have even more energy available than we needed for the initial models. Said this, we are now looking for improved models with more funtions.
In the course of this, we also found out that the variant of a tech- nology developed on the 3rd of October 2015 can be used for other products as well.
Style of Speed Further steps
We adapted a technology of a different field of application for a new variant of one of our technologies.
Also, we got the first estimation about the efficiency of our new clean diesel engines (see the related Further steps of the 26th of September 2015, and 3rd and 7th of October 2015), which is between 60 - 64% inclusive emission reduction. A more precise estimation cannot be made, because the synergetics shown by all components and aggregats of the whole engine and the influence of one specific emission reduction system have to be determined in practical tests. What cannot be estimated actually, is how well the exhaust smells, but it will smell better than the electric plastic things on wheels.
We also thought to use the technologies and the ways of construct- ion of our new diesel engines for improving our other gasoline power- ed internal combustion engines as well.
16.October.2015
Ontonics Further steps
What was this? While painting some pixelated images we suddenly developed our first artificial gill device and two models of it. The first model is larger, so that it can be used for longer self-contained underwater breathing apparatus (scuba) dives and the second model is smaller and can be integrated into a life jacket.
Basically, the technology should also work for liquid breathing.
In a subsequent step we developed a scuba set in the rebreather configuration, which could be much smaller and more lightweight than actual rebreather scubas.
iRaiment Further
We continued the work on our next products, which resulted in the addition of more fascinating functions.
In the Further steps of the 14th of October 2015 we said that we are not sure about the design variants that have a display with ring or a larger display. Today we show the related images of the model variants with the larger display. Somehow, we prefer the design variant with the larger display.
© Casio and iRaiment
17.October.2015
Comment of the Day
"We invented the Graphene Quantum dot Light-Emitting Diode (GQLED) display.", [C.S., Today]
For sure, this includes the incandescent light bulb with graphene filament, obviously. But the latter must have some kind of a gas or chemical vapor around the graphene filament to emit light, its filament must be extremely hot (> 2500°C) in order to glow in the visible range, and also lacks a switch respectively transistor.
But we thought much further:
When you add a substrate around the graphene filament, excite the substrate instead of heating up the filament, and then improve the substrate by giving it a crystal structure such as of quantum dots for example, you will end up at our very small, very cold, and very efficient (GQLED) eventually.
When you add a Thin-Film Transistor without or with a channel layer based on Carbon NanoTube (CNT) or graphene, you will end up with our Carbon Quantum dot Light-Emitting Diode (CQLED) display (see also the Ontonics Further steps of today below).
By the way: Patent pending, including variants with rigid, flexible, and bendable or deformable substrate.
OntoLix and OntoLinux Further steps
We are pleased to announce the next compositor shell of our OntoGraphics software component called Sportsland, that is based on the special compositor shell Wearland and uses functions of the compositor shell Healthland.
As the label directly suggests, the Sportsland compositor shell offers an already proven, specialized Graphical User Interface (GUI) plat- form for devices and applications related with all kinds of sport activities.
iRaiment Further steps
We would like to give the information that the Graphical User Inter- face (GUI) of our smart wear, specifically the smartwatches of our FitWatch and C-Shock series, is based on our special compositor shells Wearland and Sportsland (see also the related OntoLix and OntoLinux Further steps of today above).
Ontonics Further steps
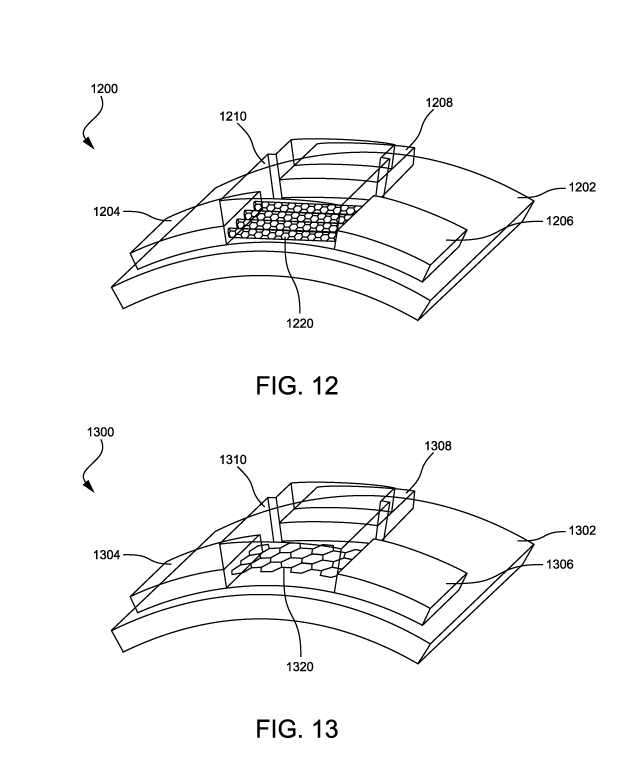
We are pleased to present the graphene based variant of our Carbon QLED (CQLED) Display technology. 23:33 CET
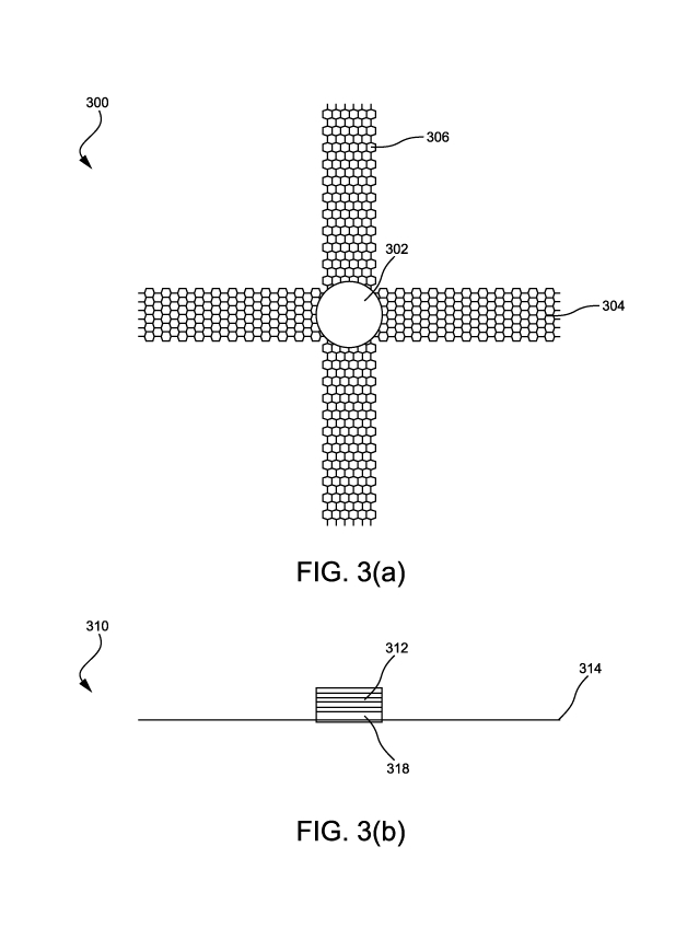
The figure 12 shows a flexible Carbon NanoTube based, Quantum dot based Light-Emitting Diode (CNTQLED) display, which has been pres- ented already as figure 3 in the Ontonics Website update of the 23rd of December 2013.
The figure 13 below shows as another example a flexible Graphene based, Quantum dot based Light-Emitting Diode (GQLED) display (1300) with flexible substrate (1302), source (1304), drain (1306), and gate (1308) of a Thin-Film Transistor (TFT), and GQLED (1310) with Graphene Nanoribbon (GN; 1320).
Obviously, the channel of the TFT and the cathode or the anode, or even both electrodes of the displays' CQLEDs are integrated.

© Ontonics
In this relation, we have decided to use our CQLED display techno- logy for other devices such as CQLED lamps, components for all kinds of chips used for data processing and optical communications, and much more.
The novelty of our CQLED display technology has been indirectly confirmed recently by a U.S.American university, a South Korean university, and a South Korean research institute, so that we can continue with the production of our superior CQLED devices.
Furthermore, we found out that we already have a component, that on the one hand we used at a different position of a module and on the other hand we can use as a solution for a little problem of this module.
In addition, we found another solution for this little problem, which is also very elegant.
Another development is related with using a different component for a device.
18.October.2015
Ontonics Further steps
We developed a highly efficient variant of an electric energy storage device. Most potentially, we are reaching already the specific energy of around 15000 Wh/kg and maybe 20000 Wh/kg, and an energy density of around 8400 Wh/L = 30 MJ/L with both variants (see also the Further steps of the 17th of August 2015 for example).
For its development we used four relatively new technologies and our new integrations of them, which resulted in a little complex, a little more crazy, and definitely a much more extraordinary system.
In addition, we developed another variant of one of our techno- logies, which should provide a performance that is a magnitude higher than the preceeding variant.
For sure, we applied this new variant to improve several related applications. If our fans see it, then they will have the next proof, who is truly the Hightech Competence, and even more important, what makes more fun, creates more excitement, and is really crazy.
Moreover, we developed a special type of a technology (see also the Roboticle Further steps of today below).
In relation with the Comment of the Day and the Further steps of yesterday we would like to give the following additional informations:
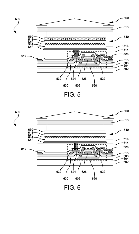
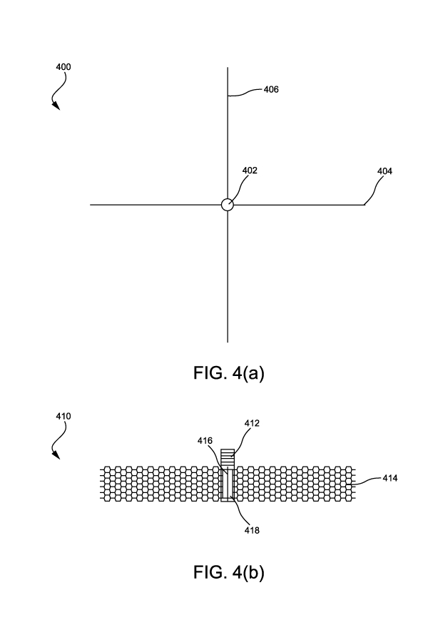
Firstly, our invention of a flexible Graphene based, Quantum dot bas- ed Light-Emitting Diode (GQLED) display shown for example in figure 13 comprises also the most extreme variant of an integrated transis- tor GQLED, which is an integration of a molecular graphene quantum dot transistor or graphene quantum dot nanotransistor (see also the image) and a GQLED.
Said in other words and more precisely reflecting the facts, the source, drain, or/and gate as well as the channel are also graphene nanoribbons, and the source, drain, gate, or/and graphene quantum dot channel are also the cathode or the anode, or even both elec- trodes of our GQLED (brighter area in the image) depending on a related specific configuration and interpretation.
© University of Manchester
Obviously, we have invented the thinnest display, which as a light bulb display without light-emitting quantum dots is (theoretically) only one graphene layer thick and as a QLED display is (practically) around 10 to 150 nanometers thick depending on the emitted elec- tromagnetic radiation, and also one of the most transparent, bright- est, and power efficient display that is possible.
Needless to say, this works with a Carbon NanoTube (CNT) based transistor as well as described with our CNTQLED (see again the figure 12 in the Further steps of yesterday).
Secondly, a substrate added around the graphene filament can also be a dielectric polymer respectively the Graphene based, Quantum dot based Light-Emitting Diode (GQLED; 1310) with Graphene Nanoribbon (GN; 1320) shown in figure 13 can also be an LED, that consists of a dielectric polymer with an integrated GN channel for example. This might be an invention of its own. 04:30 CET
The invention is an electronic visual display, that is based on a Graphene based, Light-Emitting Diode (GLED) respectively light-emitting graphene diode and a control electronics, which has at least one transistor with a conducting channel, which again is simultaneously at least one electrode of the GLED and based on the carbon modification graphene respectively a graphene nanoribbon or graphite sheets, with the GLED made of a dielectric polymer.
The dielectric polymer can be an organic, semiconducting material.
The dielectric polymer can be an inorganic, semiconducting material.
At least one transistor of the control electronics can be a Field-Effect Transistor (FET).
At least one transistor of the control electronics can be a Graphene Field-Effect Transistor (GFET).
At least one transistor of the control electronics can be a Graphene Base Transistor (GBT).
At least one transistor of the control electronics can be a Graphene Source-Gated Transistor (GSGT).
At least one transistor of the control electronics can have a graphene based source.
At least one transistor of the control electronics can have a graphene based drain.
At least one transistor of the control electronics can have a graphene based gate.
The control layer can work using the method of the active matrix addressing scheme.
The substrate can be flexible.
The substrate can be bendable.
The substrate can be stretchable.
The display can have a scratch resistant layer.
The display can have a touch sensitive layer.
In addition, we also developed the following two production methods for such GLED displays:
A first production method for a display device, which is based on a Graphene based, Light-Emitting Diode (GLED) with an integrated graphene based transistor (one part is also GLED electrode), that applies the method of the inkjet printing.
A second production method for a display device, which is based on a Graphene based, Light-Emitting Diode (GLED) with an integrated graphene based transistor (one part is also GLED electrode), that applies the method of the roll-to-roll processing (web processing or reel-to-reel processing).
For a person skilled in the art it is very easy to see, that we can do it with just some few layers. Fascinating this superdisplay.
Besides this, we also developed three components.
Roboticle Further steps
We applied the new special type of a technology developed by Ontonics today to develop variants of basic systems of some machines.
19.October.2015
Ontonics Further steps
We continued the work on the highly efficient variant of an electric energy storage device mentioned in the Further steps of yesterday and made out of the initial sketch, which comprises several high technologies including their integrations, various basic system arch- itectures.
On the basis of these system architectures we could make a more precise estimation of the specific energy, which at least confirmed the 15000 Wh/kg, supports the outlook for 20000 Wh/kg, and suggests further improvements.
Also, we developed three more special types of a technology.
Furthermore, we solved a problem with a system by using one of our other systems.
In a subsequent step we used this solution to solve another problem this time with the other system.
Roboticle Further steps
Again, we applied the new special types of a technology developed by Ontonics today to continue the development of the variants of basic systems of some machines that we began yesterday.
We also worked on our ADVanced AMmunition (ADVAM) technologies (see the related section of the Ontonics Further steps of the 1st of April 2015), specifically on some kind of a micromissile version of the supersonic, turbojet-propelled cruise missile North American Aviation AGM-28.
20.October.2015
Comment of the Day
Modular diesel matrix
Ontonics Further steps
For all of our readers, who do not spend their precious time with the reading of patent related documents, and before some more Nobel laureates damage their reputation with scientific publications, we have publicated some more drawings related with our Carbon based, Quantum dot based Light-Emitting Diode (CQLED) display techno- logies, specifically the Graphene based, Quantum dot based Light-Emitting Diode (GQLED) display devices (see also the Comment of the Day and the Further steps of 17th and 18th of October 2015).




© Ontonics
Style of Speed Further steps
We developed our sixth very efficient and clean diesel engine and some variants of it.
In addition, some special features of this diesel engine have been added to our other diesel engines and their variants (see also the Further steps of the 26th of September 2015, and 3rd and 7th of October 2015).
As a consequence of all the different models and their variants of our diesel engines, we created a platform called Modular Diesel Matrix (MDM).
Roboticle Further steps
We developed two variants of a new device. One variant might be a revolution in its field of application, because it is pretty cool.
Wow, while still thinking about the prototype of one variant of this new device we developed second variants of similar devices. These things will change everything. We are loving it already and wonder- ing, why nobody else had this idea, and you will be loving it too.
21.October.2015
Question of the Day
"Hello? Hello, McFly? Anybody home?"
Have you seen Marty?
Picture of the Day
Back to the Future II Display of DeLorean Time Machine (1989)
© Universal Studios→Back to the Future
See also the Pictures of the Day of the 29th of September 2007 and 9th of January 2015 the related picture in the 1. row of the Original vs. Inspiration of the 18th of July 2015, and also the Comment of the Day #2 of the 14th of July 2010 and 24th of December 2012, as well as the Pod and Swoop Racing League Further steps #18 issued on the 28th of February 2012, and for sure the Style of Speed Announcement of the 26th of January 2015.
Dialog of the Day
Marty McFly: Wait a minute. Wait a minute, Doc. Ah ... Are you telling me that you built a time machine ... out of a DeLorean?
Dr. Emmett Brown: The way I see it, if you're gonna build a time machine into a car, why not do it with some *style?*
Comment of the Day
"Flat out to the Future, with more Style of Speed.", [C.S., Today]
FTTF
More Style - More Power - More Fun
Ontonics Further steps
Eventually, we adapted an older basic technology and added it to a related common platform
We also developed our first variant of its application.
Furthermore, we used a technology to develop some variants.
We also worked a little on the handling of a device.
In addition, we used a similar device for a system.
Moreover, we developed a new variant of this similar device.
In this relation, we also adapted a matured technology for the foundational technology of these devices. This development stage is a little revolution, because it solves an older highly complex problem in an extremely elegant way.
We used an older highly complex method to improve a system in relation with two aspects. This gives us competitive advantages in these both fields as well, though in the case of the system we have at least two more promissing alternatives.
iRaiment Further steps
We are pleased to announce the start of a new project.
Also, we continued the work on one of our next products.
Furthermore, we used the older basic technology eventually adapted by Ontonics today to develop a variant of a device.
In addition, we used the new variants of a technology developed by Ontonics today as well to develop another variant of a device. But sadly to say, the actual performance is not convincing. Nevertheless, it is a first step into this direction.
Roboticle Further steps
We continued the work on the second variants of the new devices that we began yesterday. As results, we reused a part developed for other devices some years ago and developed a common platform for all variants.
22.October.2015
iRaiment Further steps
Since many years we are developing a product. In the last weeks we have come closer and closer to the first three models of it.
Furthermore, we developed a specific variant for each of these three models.
In addition, we adapted a technology for one of our technologies in two different ways.
We might have found another design for an upcoming product.
23.October.2015
Ontonics Further steps
We developed the next generation of a technology by integrating the last generations of two technologies.
In addition, we developed a new method, which can be realized as an independent platform or as a functional extension of our existing Ontologic Information System (OIS).
iRaiment Further steps
We improved a module.
Also, we used an integrated technology for another device.
24.October.2015
Comment of the Day
Smart lace
Smart lacing
Auto lace
Auto lacing
iRaiment Further steps
The revolution is here at iRaiment. We are very pleased to present the first truly working and useable smartshoes with auto-lacing or power lace technology, or as we call it Smart Lace System.
The novelties and advantages of our solution are manifold:
Firstly, we use one or more piezoelectric ultrasonic motors and not a conventional electromagnetic (servo- or stepper-)motor without or with a reduction gear unit.
Secondly, we use piezoelectric ultrasonic motors that have a stator based on (thin-film) Plumbum (lead) Zirconate Titanate (PZT) and other suitable piezoelectric materials.
Thirdly, besides the rotary motors, we also use linear motors.
Fourthly, special versions of our Smart Lace System can even work without electric power for example by using an electric motor with a manually releasable retaining pawl or/and integrating it with or into a rotary knob or linear clasp [(examples taken from the utitlity model and added on the 25th of October 2015)].
Fifthly, our smartshoes work perfectly together with our other superior devices, such as our Ontoscopes, as well as our smart- watches and smart eyewear. In this way, a wearer can close and open our smartshoes by using the touchscreen of a mobile device or/and the voice command system through our Sportsland based Graphical User Interface (GUI) platform for example.
Said this, our smartshoe platform has the right:
torque,
round per minutes,
dimension,
weight,
power efficiency,
quietness respectively sound,
comfort,
and much more,
that other technologies based on an electromagnetic motor cannot provide.


© iRaiment
Talk to your shoes.
Btw.: We only waited for this around 2 years long and hence it is no surprise at all that a video emerged some days ago, that shows a shoe with an electromagnetic motor with gear unit, which again on the one hand does not deform the shoe at all and on the other hand makes a relatively loud sound comparable to a small battery-power- ed electric screwdriver. Obviously, the shoe is more a conceptual fake or mockup than a functional (but still unwearable) prototype, which differs significantly from our smartshoe platform and seems to be the next attempt to steal our show and disturb our business in this specific field.
In relation with this invention, we filed a utility model respectively some kind of a provisional patent and set its status on patent queueing.
25.October.2015
iRaiment Further steps
The revolution by iRaiment continues, for sure, with the finalization of the basic hardware and software architectures as well as designs for one of our next product series mentioned in several Further steps of iRaiment and Ontonics before.
26.October.2015
Ontonics Further steps
We already worked on a problem of a technology but now we have found a way to optimize a technology significantly.
Furthermore, we developed an improved variant of a technology by using some high-tech materials. In a different form this new variant is also a new variant of a similar technology, so we did two inventions with one thought.
iRaiment Further steps
We are pleased to confirm that our first and second smartsneaker model series (see the Further steps of the 24th of October 2015) have entered the production phase.
Also, we are finalizing the research and development phase of our third and fourth smartsneaker model series (see the Further steps of the 22nd of October 2015).
We are more than sure that models like our Super Max and Super Techs will knock every sneaker enthusiast out of her/his common shoes on the one side and on the other side have already set the new benchmark and become the new classics without being com- pletely designed.
In addition, we have designed a first smartboots model series that looks similar to the boots shown in the images below.

© Timberland, :I, and iRaiment
In this relation, special versions for the armed forces and civil work forces are in the end of their development phase.
Multi-featured for functionality and style. This is our first ultimate, smart sporting jacket, the perfect choice of outer layer whenever and wherever there’s a room to move. This smartwear along with
classic cut,
quilted wadding,
suede trims, and
deep pockets
also has
a smartphone pocket and
many others outstanding features,
making it a very versatile mobile device indeed.
The image below shows only an initial design, which we have over- worked already by following our requirement specification and exceptional, distinctive High-Style.


© Universal Studios→Back to the Future, Barbour, and iRaiment
Talk to your jacket.
27.October.2015
Comment of the Day
Fabrinium
Ontonics Further steps
We developed a new technology.
In addition, we have improved a new technology of us.
Beside these activities, we worked on two applications of a technology.
Because it simply came into our mind, we improved the punch of a component.
We have begun to develop a new material class called Fabrinium, which has outstanding properties like our other material classes Hoverinium and Paperinium.
iRaiment Further steps
Over the last days we continued the work on the variants of our version of a technology (see also the Further steps of the 3rd and 5th of October 2015) and finally concluded that we developed a more general hardware architecture.
We also worked on an integration of two systems.
Roboticle Further steps
As the next generations of our first micromissile, which is a part of our ADVanced AMmunition (ADVAM) technologies (see the related Further steps of the 19th of October 2015), we worked on improved versions of it, specifically on some kind of a micromissile version of the subsonic turbofan propelled cruise missile Boeing AGM-86 and some kind of a hypersonic cruise micromissile version of the scramjet demonstration aircraft Boeing X-51.
While the MAGM-86 has a range significantly increased by a factor of around 3, the MX-51 is around 2.5 times faster than the micro- missile MAGM-28.
To complement the technology we also developed two different kinds of launch systems.
28.October.2015
Ontonics Further steps
In the last days we worked on two components and finally found out that on the one hand we already have solutions, which belong to the bests of their class, and on the other hand there is much more to play with.
Now, we have these annoying problems with the complexity of poss- ibilities and the selection of the right solutions again, and as a first step to solve these problems we developed a bunch of components in different variants and have a much more precise view on them.
We also developed an improved variant of a technology, that we already had in mind, but our first attempt of its realization was not following the state of the art somehow.
Ontoscope Further steps
Btw.: Its status is already changing to the production phase.
© :I and Ontoscope
Our general minimalistic design as well as our special exclusive Monolith style are registered and copyrighted. See also the Further steps of the 20th of September 2014.
iRaiment Further steps
We designed a new variant and a new model of our Flip-Flop watch presented in the Further steps of the 6th of August 2015.
The Crown of Innovation
29.October.2015
Ontonics Further steps
We developed the next generation of a technology mentioned in the Further steps of the 26th of August 2015 by using two different approaches of construction (see also the Further steps of yester- day).
Furthermore, we developed a new material of our Fabrinium material class, which is a little crazy.
intelliTablet Further steps
We developed the next two generations of our Flip-Flop technology, which have improved features.
iRaiment Further steps
We designed a slightly different variant of a smartwatch model.
Besides of our new developments we also took a closer look at the performance of one of our modules and found out that one version is between 7 to 14 times more efficient than a solution developed by the Defense Advanced Research Projects Agency (DARPA), which even has been ditched because it was unpractical in total contrast to our technology, and we still have some options for considerable improvements.
30.October.2015
Ontonics Further steps
We developed a new version of a technology.
31.October.2015
Ontonics Further steps
We developed a new version of a technology (see also the related Further steps of the 28th of September 2015 and 26th of October 2015).
We might have found a way to unify an old branch and a young sub- field of physics and to integrate two related technologies based on them, which have been taken independently before. Honestly, we are not sure if this is possible in this specific way, in another way, or at all.
iRaiment Further steps
We developed a new version of a technology (see also the related Further steps of the 3rd of October 2015, 15th of October 2015, and 16th of October 2015).
In addition, we adapted a technology for one of our technologies (see also the related Further steps of the 22nd of October 2015).