 |
|
02.July.2014
Comment of the Day
In-Vehicle Infotainment and Communication
IVIC
Image of the Day
Demolition Man (1993)
© Warner Bros. Entertainment
Ontonics Further steps 00:00 CET
Today, we would like to present three inventions related with Head- Mounted Displays (HMDs) and their potential designs that we devel- oped in the last weeks.
The first invention is a Head-Mounted Display (HMD; closed or see- through) with a ventilation system that has at least one mechanical, electric fan.
The fan of the ventilation system can be integrated into the frame respectively the case of the HMD.
The ventilation system consists of a fan and a flexible hose, with the HMD connected to one end of the flexible hose and the air fan mounted at the other end of it.
The number of revolutions of the fan can be controlled manually with a real switch.
The number of revolutions of the fan can be controlled manually with a software controlled switch.
The number of revolutions of the fan can be controlled automatic- ally by a temperature sensor and a control system.
The number of revolutions of the fan can be controlled automatic- ally by a humidity sensor and a control system.
The HMD is a combination of a headgear with a frame and a mobile/cell phone hold by the frame.
Problem:
When wearing an HMD, specifically a completely closed HMD and when the user is wearing the HMD for a longer time or moving more, then the air under it can be become warm and heat up the user's facial skin, which again can lead to sweat that is inconvenient and even might run into the eyes of the user, and to moisture that fogs up the display screen.
Solution:
The HMD with an integrated ventilation system blows fresh air from the outside into the HMD. In this way, the face of a user is kept cooler while wearing an HMD, which again keeps the user's facial skin and the air under the HMD drier and hence makes wearing an HMD more comfortable and also functions as an anti-fog system for the display screen.
As an example, the figure 1 below shows a pair of closed Virtual Reality (VR) goggles from an angled front view.
The figure 1 shows a closed pair of data goggles for an Virtual Real- ity (VR) environment (1) with frame (2), case (3), headband (4), and a fan integrated into the VR goggles' frame.

© :I and Ontonics
The second invention is a Head-Mounted Display (HMD; closed or see-through) with a Brain Computer Interface (BCI) system.
The head-tracking system of the HMD with BCI system can work together with at least one additional external, contactless, optical or acoustical sensor.
The HMD with BCI system can have a headphone.
The HMD with BCI system can have at least one microphone.
The HMD with BCI system can have at least one camera.
The BCI system in parts, specifically its sensors, or as a whole can be mounted at the frame, headband respectively headgear, or head- pad of the HMD, the frame or temples of a lightweight see-through HMD, or/and the earcups of an optional pair of headphones.
The BCI system in parts, specifically its sensors, or as a whole can be integrated into the frame, headband respectively headgear, or headpad of the HMD, the frame or temples of a lightweight see- through HMD, or/and the earcups of optional headphones.
The HMD is a combination of a headgear with a frame and a mobile/cell phone hold by the frame.
Problems:
1. The latencies of the display control system and its head-tracking system of an HMD can be too high, which can lead to sickness when using the HMD.
2. An additional handsfree and noiseless user interface is needed.
Solutions:
The combination of an HMD and a BCI system shortens the latencies of the display control system and its head-tracking system, by using the real-time data delivered by the BCI system when the brain of a user decides to move the head to proactively pre-fetch correspond- ing tracking functions and control commands even before the user has moved her/his head. In this way, the emergence of sickness is prevented because the displayed visual and reproduced acoustical informations are synchronized with the brain commands and the then carried out head movements of the user, and hence correspond more precisely with the expectations of the user's brain.
The BCI system can also be used as an additonal user interface to control operating functions of the HMD and applications run on a connected computer system.
As an example, the figure 1 below shows a pair of closed Virtual Reality (VR) goggles from an angled front view.
The figure 1 shows a closed pair of data goggles for an Virtual Real- ity (VR) environment (1) with frame (2), case (3), headgear (4), headphones (5), and sensors of the brain computer interface system (6) that are mounted on the headgear (4).


© :I, :I, :I, and Ontonics
The third invention is an In-Vehicle Infotainment and goggle (IVIC) system that has an On-Board Computer System (OCS), a Head- Mounted Display (HMD; closed or see-through), a connection of the HMD with the OCS, and a connection of the OCS with the vehicle electronics, specifically the vehicle's Electronic Control Units (ECUs) and telematic system, so that the HMD has access to the data of the sensors and control of the actuators of the vehicle electronics, with at least one separat contactless optical or acoustical sensor, which works together with the positioning and head-tracking system of the HMD.
The HMD and the OCS are connected by a fiber optics cable.
The HMD and the OCS are connected wirelessly.
The HMD can have a headphone.
The HMD can have at least one microphone.
The HMD can have at least one camera.
The HMD can have a Brain Computer Interface (BCI) system.
The HMD is a combination of a headgear with a frame and a mobile/cell phone hold by the frame.
Problems:
1. A vehicle seen as a Virtual Reality (VR), Augmented Reality (AR) or Mixed Reality (MR) environment in this case is moving itself and hence additional influencies are taking unwanted effects on the HMD's control system, specifically its internal head- tracking system.
2. The precise determination of the relative positioning and move- ment of the HMD within the vehicle's interior space and the overlay- ing of the real-time data about the external environment and the internal space of the vehicle as well as the vehicle itself, which are delivered by the sensors of the vehicle's ECUs and the HMD, with the artificially created virtual data of a VR, AR or MR system.
Solutions:
The invention gives addtional support to track the head of a user wearing the HMD and its relative position and movement inside a vehicle. As results, the control of the HMD is enhanced, and hence sickness of its user is avoided, and the precision of overlaying real and virtual data is increased.
The IVIC also supports the communication with other humans and machines. A multimedia system makes it possible that animations respond to real-time travel conditions and to created virtual steam drawings to augment on the real view out of the vehicle's windows.
The IVIC can save user inputs to reload them again at a later time.
The HMD also can be used outside of a vehicle.
As an example, the figure 1 below shows an In-Vehicle Infotainment and goggle (IVIC) system with an On-Board Computer System (OCS) and a pair of closed Virtual Reality (VR) goggles from an angled rear view.
The figure 1 shows an interior of a car (1), an On-Board Computer System (2), a closed pair of data goggles for an Virtual Reality (VR) environment (3) and a separat sensor for the positioning and head- tracking system in the form of a 3D camera with two lenses and a source of infra-red light (4). For a better overview the represent- ation of a passenger wearing the data goggles was omitted.

© :I and Ontonics
All designs are protected and registered, and the Ontoscope paradigm is copyrighted.
The images will be updated.
Original vs. Inspiration
1. row: OntoLab and Ontoscope Sm@rtEyewear Interactive electronic Plastic/Polymer Panes (ePP) with optional Scratch-Resistant Iridium Coating, Tetradirectional Active Display, Multilingual Multimodal Multimedia User Interface (M³UI), and Ontoscope MultiGlasses Architecture MultiOakley OntoFrame Ski, Snowboard, Mountainbike, BMX, and Motorcycle Goggles
2. row: OntoLab and Ontoscope Sm@rtEyewear Interactive electronic Plastic/Polymer Panes (ePP) with optional Scratch-Resistant Iridium Coating, Tetradirectional Active Display, Multilingual Multimodal Multimedia User Interface (M³UI), and Ontoscope MultiGlasses Architecture MultiSmith OntoIO Ski, Snowboard, Mountainbike, BMX, and Motorcycle Goggles


© :(, :I, Smith Optics, and OntoLab
See also the Original vs. Inspiration of the 24th of April 2013.
As we said, it is always better to collaborate with us.
03.July.2014
Ontonics Further steps
We developed a new variant of a mobile device type and solved a related problem in two different ways. We can only tell you to hold your breath and wait for the news to come.
04.July.2014
Picture of the Day
Tyler Shields The Dirty Side of Glamour - Heather Morris reflected for
C.S. Don't explore One Glass (2014)

© Tyler Shields
For sure, it is always better to collaborate with us and also to wear an original Ontoscope, specifically when being in public areas.
See also the Picture of the Day of the 9th of September 2013.
Ontonics Further steps
We have taken new and very promising advancements of two diff- erent basic components for an application (see also the related Further steps of the 31st of January 2014).
We also made serious headway with the development of one of our technologies related with the basic concepts and technologies mentioned in the Further steps of the 30th of June 2014 (see also the related Further steps of the 7th of March 2014).
05.July.2014
Ontonics Further steps
In relation with the Further steps of the 4th of July 2014 and 31st of January 2014 we developed a new model that offers an elegant bridge between different approaches.
In the last days, we have thought about a special problem and finally found two simple solutions. Actually, the ideas are coming down on us like an avalanche.
We are also working on a further variant of the basic component mentioned in the Further steps of the 28th of June 2014.
We developed a new basic component.
07.July.2014
Ontonics Further steps 03:00 CET
Today, we would like to present an invention related with smart- watches and their potential designs, specifically the ones shown with the Original vs. Inspiration of the 19th of March 2014, 10th, 19th, 20th, 24th and 25th of April 2014, and 5th of May 2014, that we developed over the years.
The invention is a mobile computer system, that has a multi-colour- ed display, an energy source, a case, and at least one time indicat- ing component build into the case border respectively display frame of the mobile computer system.
The computer system can have a wristband/bracelet attached on its case.
The computer system can have a second watch with a movement, which can also use the further component respectively components for indicating the time of the computer system.
The second watch can have an mechanical movement.
The second watch can have an electronic movement respectively module.
The second watch can have an electromechanical movement respectively module.
The second watch can have a movement respectively module with an electronic oscillator that is regulated by a quartz crystal.
The second watch can have a movement respectively module with a linear encoder.
At least one time indicating component can be an analog watch.
At least one time indicating component can be a digital watch.
At least one time indicating component can be mechanical.
At least one time indicating component can be electronical.
At least one time indicating component can be electromechanical.
At least one time indicating component can be displayed by an LC-Display.
At least one time indicating component can be displayed by an LED-Display.
At least one time indicating component can be displayed by an e-paper display.
At least one time indicating component can be displayed by an interferometric modulator display.
At least one time indicating component can be a projector.
At least one time indicating component can be an LED.
At least one time indicating component can be a LASER diode.
At least one time indicating component can be a rotating ring.
At least one time indicating component can be a moving belt.
At least one time indicating component can be a moving chain.
At least one time indicating component can be mounted on a ring and moved by it.
At least one time indicating component can be mounted on a belt and moved by it.
At least one time indicating component can be mounted on a chain and moved by it.
The second watch can be powered by an own energy source.
The mobile computer system can have a transparent display.
The mobile computer system can have a touch-sensitive display.
The mobile computer system can have at least one touch-sensitive sensor.
The mobile computer system can have at least one touchless sensor.
The mobile computer system can have at least one sensor to track the movement of the device.
The mobile computer system can have at least one sensor to gather informations of the environment.
The mobile computer system can have at least one microphone.
The mobile computer system can have at least one camera.
The mobile computer system can have a communication interface to other computer systems on the basis of infra-red light.
The mobile computer system can have a communication interface to other computer systems on the basis of the radio technology.
The mobile computer system can have a contact based connect- ion to an external power supply.
The mobile computer system can have a wireless power supply on the basis of induction.
Problems:
1. Mobile computer systems, specifically so-called wearable comput- ers like smartwatches, suffer from their high power consumption respectively their small battery.
2. A hybrid watch consisting of a smartwatch and a common watch with common movement and dial indicator has got the movement in the way of the computer electronics or/and the dial indicator in the way of the computer display.
Solution:
The mobile computer system gets a second watch that even can indicate the time when the battery has not enough energy anymore to power the whole computer system. This second watch could run for years without the need to recharge or exchange a battery.
Also, the movement and its indicator components of the watch are constructed and positioned in such ways that their neither interfere with the display nor the electronics of the computer system. A prefered position for the time indicating respectively signaling components of the second watch is the border of the computer system case.
As examples, the figures 1 and 2 below show two different variants of a mobile computer system (1) as top view.
The figure 1 shows a mobile computer systems (1) with case (2), wristband (3), computer display (4), rotating ring for indicating the hours (5), hour mark (6), rotating ring for indicating the minutes (7), minute mark (8), and contactless sensor (9).
The figure 2 shows a mobile computer systems (1) with wristband (3), computer display (4), revolvable bezel (10), and Light-Emitting Diode as bezel rider/marker (11).

© Ontonics
The invention and all related designs (see the Original vs. Inspiration of the 19th of March 2014, 10th, 19th, 20th, 24th, 25th of April 2014, 5th of May 2014, and today below) are copyrighted and constitute an original and unique work of C.S. and our corporation.
Original vs. Inspiration
As further examples in relation with the Ontonics Further steps of today (see above), the images show watches with different types of shapes, movements, and indicators, and their individual realizations. In the images the computer displays in the free middle areas of the watches are missing, though some of the images show watches with very simple signaling devices (e.g. Flexibility, Stargate and Radar) while other watch faces only look like a computer screen (e.g. Click Watch).








© :(, :I, Sam Jerichow, Jihun Yeom, , EleeNo, Kisai; :), Twelve5-9, Nooka, and many others, and Ontonics
For sure, many of the circular variants can be used with the angular variants as well.
Have we promised too much?
The images will be updated with for example a computer screen.
08.July.2014
Investigations::Multimedia
British Broadcasting Corporation: With its fourth unsuccessful attempt to impute the company Google and now the NASA with the original and unique work of multimedia art called the Ontoscope paradigm by C.S., which includes the also original MobileKinetic technology, aka. MobileKinect, and is also linked to the flying spherical space station robot called Personal Satellite Assistant (PSA) by the NASA (see the section Robotics of the webpage Links to Hardware on the website of OntoLix and OntoLinux) so it is in fact not NASA's idea, the public law media company once again deliberately betrayed the fundaments of journalism, misled once again the fee payers, and infringed our copyright.
How was it with the phedophilic scandals at the BBC and the British parliament, as well as the racism and mobbing at the BBC?
Reuters: Reuters also acted in the same way in relation with the copyrighted Ontoscope paradigm once again, as not expected otherwise.
Btw.: Specifically ridiculous is in this conjunction, that journalists of the British Broadcasting Corporation and the The Guardian grumbled about the deletion of links to reports by the company Google and babbled about something like quality journalism and freedom of speech. Definitely, to permanently give misleading informations to the public is neither related with quality journalism nor covered by the freedom of speech, but in fact a crime only.
09.July.2014
Clarification
We are sorry to say, but due to our latest developments in the fields of hard- and software technology and business processes in favor for our customers and all other entities in the whole world, and also due to legal issues there might be some compatibility problems bet- ween our devices and the internet services of the company Google and the app(lications) running on the Linux kernel based operating system called Android of the company Google, which even can be so serious that the services and applications completely abandon to work or do not start to work at all. The same might be the case with special tasks of federal agencies.
We worked hard to solve these problems of incompatibility and now have to confess that we were unable to solve them and eventually failed in trying so.
Ontonics Further steps 06:00 CET
Today, we would like to present an invention related with cases for displays and computers, and their potential applications and designs, specifically some of the ones shown with the Original vs. Inspiration, Sketches, and Sneak Preview of the 28th of October 2008, that we developed over the months.
The invention is a case/enclosure for devices, that has a mounting for a flexible respectively bendable display and at least two parts connected by a hinge, that has at least two elements, that are connected by a fold mechanism at one side and are determining the closing and opening angles of rotation as well as the bending radius of the case/closure by their sizes of the length and thickness, and which is not thicker than the case/enclosure.
The device case/enclosure has at least one mechanism, which keeps the hinge of the case/closure in at least one state.
The device case/enclosure has at least one spring, which keeps the hinge of the case/closure in at least one state.
The device case/enclosure has at least one shape-memorizing element, which permanently memorizes the shape of the hinge of the case/closure to keep it in its last state.
The hinge between the case/closure parts is a gaitor, which is constructed like a segment out of several bellow-like elements connected to each other by hinges, so that it can be folded on the one side, but only bended by the hinges on the other side.
The hinge elements are connected by a flexible material on the one side and an accordion-/bellow-like folding mechanism on the other side.
The hinge elements are themselves film hinges on the one side and are connected by an accordion-/bellow-like folding mechanism on the other side. [Another term for film hing seems to be living hinge in English. The term film hinge was chosen, because it is used in the caption "Deckel mit Filmscharnier an einer PET-Box==Lid with film hinge on a PET-box" of an image shown on an internet encyclopedia (added on the 8th of October 2014 for clarity).]
The hinge elements are themselves piano hinges on the one side and are connected by an accordion-/bellow-like folding mechanism on the other side.
The hinge elements are themselves hinges on the one side and are connected by an accordion-/bellow-like folding mechanism on the other side.
The hinge elements are connected by a flexible material on the one side and are connected by folding hinges on the other side.
The hinge elements are themselves film hinges on the one side and are connected by folding hinges on the other side.
The hinge elements are themselves piano hinges on the one side and are connected by folding hinges on the other side.
The hinge elements are themselves hinges on the one side and are connected by folding hinges on the other side.
The hinge elements are connected by a flexible material on the one side and are connected by folding piano hinges on the other side.
The hinge elements are themselves film hinges on the one side and are connected by folding piano hinges on the other side.
The hinge elements are themselves piano hinges on the one side and are connected by folding piano hinges on the other side.
The hinge elements are themselves hinges on the one side and are connected by folding piano hinges on the other side.
The hinge element has a T-piece as the supporting element.
The hinge element has an L-piece as the supporting element.
The hinge element has at least one opening.
The hinge between the case/closure parts can be made in such a way that the case/closure parts touch each other when closed.
The size of the hinge elements can be made in such a way that the opening angle of rotation is fixed to 180°.
The size of the hinge elements can be made in such a way that the opening angle of rotation is greater than 180°.
The size of the hinge elements can be made in such a way that the opening angle of rotation is to 360°.
The hinge of the device case/closure allows the opening and closing of the case/enclosure without falling below the permissible bending radius of and without applying stress on a flexible respectively bend- able display. It also supports a flexible display from behind.
The device case/closure can be used for stationary like computer monitors, televisions, and so-called all-in-one personal computer, and mobile devices.
As examples, the figures below show different variants of the flexible/foldable display and computer case with two and three connected parts in closed and opened states with different angles.
The figure 1 shows a two-part device case/closure in closed state and with the flexible display outside (1) with case part (2), case part (3), and hinge (4) as 2D cross-sectional view from the side.
The figure 2 shows a two-part device case/closure in closed state and with the flexible display inside (1) with case part (2), case part (3), and hinge (4) as 2D cross-sectional view from the side.
The figure 3 shows a two-part device case/closure in opened state (1) with case part (2), case part (3), and hinge (4) in the variant with a flexible material and a accordion-/bellow-like folding mechan- ism (5) as 2D cross-sectional view from the side.
The figure 4 shows a two-part device case/closure in closed state with the flexible display outside and the case parts touching each other (1) with case part (2), case part (3), and hinge (4) as 2D cross-sectional view from the side.
The figure 5 shows a three-part device case/closure in closed state with the flexible display outside (6) with case part (7), case part (8), case part (9), hinge (10) and hinge (11) as 2D cross-sectional view from the side.
The figure 6 shows a three-part device case/closure in opened state (6) with case part (7), case part (8), case part (9), hinge (10) and hinge (11) as 2D cross-sectional view from the side.
The figure 7 shows a segment of a case/closure hinge (12) with T-piece (13), T-piece (14), hinge rotating axle of the t-pieces on the one side (15) and folding hinge on the other side of the T-pieces (16) from the side.
© Ontonics
The invention and all related designs (see for example the Original vs. Inspiration of today below) are copyrighted and patent pending.
Original vs. Inspiration
As further examples in relation with the Ontonics Further steps of today (see above), the images show mobile devices with different types of designs.



 




© NEC, Nokia, Sara Forsmark, Christian de Porter, :I, :(, I:, Patrik Eriksson, Kyocera, and Tai Chiem
Have we promised too much?
See also the Original vs. Inspiration, Sketches, and Sneak Preview of the 28th of October 2008.
As we said, it is always better to collaborate with us.
10.July.2014
Picture of the Day
RoboRoach

© :( and :I
OK, robouser. Go right! Calculate! Sell your soul!
Clarification
For sure, the device case/closure presented in the Ontonics Further steps of yesterday was described in such a way, that it includes for example the variant with 2 parts each around 5 mm or less wide and the rest as a flexible bellow-like hinge, so that it can be rolled (see also the related design concept shown yesterday as Original vs. In- spiration for example). Actually, the maximal bending diameter is around 14 mm (bending radius ca. 7 mm), which equals the thickness of the mobile devices sketched in figure 1 and figure 4 with the real production dimensions. The variant of the mobile device sketched in figure 5 has 3 parts conencted by two hinges, and is around 34 mm thick and 6 cm wide in the colapsed state and around 21 cm wide in the opened state.
Ontonics Further steps
We already are ending the final design and began with the prototype production phase of foldable and rollable mobile devices. For the production, we have several processor suppliers and two display suppliers, but maybe other companies will find out as well, that it is always better to collaborate with us.
In addition, we also close to the production of our protected and patent pending graphene Quantum dot based Light-Emitting Diode (QLED) display technology with its superior performances for real applications in comparison to all the other technologies.
Investors are welcomed, now and not in 3 years.
Meep! Meep! = = = = = = ==========>===>>==>>>=>>>>>>O°
We have developed a new basic component.
Since some months we were developing a new concept and today we realized that we have reached our goal already. This is fascinat- ing.
While thinking about an older concept and attempts to realize it, we suddenly got the idea how to develop its actual implementations further. Game changer
We developed a new variant of a basic component. This variant fits very well with the other fascinating solution mentioned above.
11.July.2014
Comment of the Day
Iflex
Homebench
Flexbench
Playbench
Ontonics Further steps 04:14 CET
Today, we would like to present an invention related with foldable and rollable devices, which feature a flexible respectively bendable case like the one presented in the Further steps of the 9th of July 2014 and a flexible respectively bendable display, and their potential applications and designs that we developed over the months.
The invention is an electronic visual display, that has a flexible resp- ectively bendable apparatus for the optical signaling respectively presentation of changeable informations (short display), a flexible respectively bendable case/enclosure with at least one hinge, which protects the display in the bended state from braking, a control system, at least one touchless 3D sensor, at least one mechanism, which keeps the hinge of the case/closure in at least one state, and its curvature can be changed by more than 45 degrees.
The hinge of the device can have at least two elements, that are connected by a fold mechanism at one side and are determining the closing and opening angles of rotation as well as the bending radius of the case/closure by their sizes of the length and thickness, and which is not thicker than the case/enclosure.
The device's case/enclosure has at least one spring, which keeps the hinge of the case/closure in at least one state.
The device's case/enclosure has at least one shape-memorizing element, which permanently memorizes the shape of the hinge of the case/closure to keep it in its last state.
The device can have a servo-motor to change the state of the flexible respectively bendable case/enclosure.
The flexible respectively bendable display can be a transparent display.
The flexible respectively bendable display can be a touch-sensitive display.
The flexible respectively bendable display can be a multi-layered/stacked display, which is made out of at least 2 individually controllable displays.
The flexible respectively bendable display can be an autostereoscopic 3D display.
The flexible respectively bendable display can be a 3D display, that needs special glasse for watching, so that each eye sees the right image and hence a 3D-effect is created in the brain.
The flexible respectively bendable display as an autostereoscopic 3D display can have at least 2 individually controllable displays as layers, a touchless sensor at the front side of the device, and a control system, that controls the display by the touchless sensor.
The flexible respectively bendable display can be based on the Light-Emiiting Diode (LED).
The flexible respectively bendable display can be based on the laser diode.
The flexible respectively bendable display can be based on the Quantum dot based Light-Emiiting Diode (QLED).
The flexible respectively bendable display can be based on a so-called e-paper technology. (added on the 12th of July 2014, 11:15 CET, but covered in general by flexible/bendable display)
The flexible respectively bendable display can be based on a film made out of an optoelectronic phase-change material.
The flexible respectively bendable display can be based on the interferometric modulation. (added on the 12th of July 2014, 11:15 CET, but covered in general by flexible/bendable display)
The device has an additional computer system to process digital data, run software applications, and store data.
The control system of the device and the additional computer system can be integrated in one system.
The control system of the device can be a flexible electronic circuit.
The integrated system to control the device and to process data can be a flexible electronic circuit.
The device can have at least one touch-sensitive sensor.
The device can have at least one additional touchless sensor.
The touchless sensor can be an optical 2D-sensor.
The touchless, optical 2D-sensor can be a 2D camera at the front side.
The touchless, optical 2D-sensor can be a 2D camera at the back side.
The touchless 3D-sensor can be an optical 3D-sensor.
The touchless, optical 3D-sensor can be a 3D camera at the front side.
The touchless, optical 3D-sensor can be a 3D camera at the back side.
The touchless, optical 3D-sensor can be a stereo-camera.
The touchless, optical 3D-sensor can be a camera, which is based on the time-of-flight technique.
The touchless, optical 3D-sensor can be a plenoptic camera respectively light-field camera.
The touchless, optical 3D-sensor can be a camera, which is based on the structured light technique.
The touchless sensor can be an acoustical 2D-sensor.
The touchless, acoustical 2D-sensor can be a 2D microphone at the front side.
The touchless, acoustical 2D-sensor can be a 2D microphone at the back side.
The touchless 3D-sensor can be an acoustical 3D-sensor.
The touchless, acoustical 3D-sensor can be a 3D microphone at the front side.
The touchless, acoustical 3D-sensor can be a 3D microphone at the back side.
The touchless, acoustical 3D-sensor can be a stereo-microphone.
The touchless, acoustical 3D-sensor can be a microphone, which is based on the time-of-flight technique.
The touchless, acoustical 3D-sensor can be an acoustical wave-field microphone.
The touchless, acoustical 3D-sensor can be a microphone, which is based on the structured acoustical wave technique.
The touchless sensor can be a sensor to track the movement of the device itself.
The touchless movement sensor can be an inertial sensor.
The touchless movement sensor can be a compass.
The touchless movement sensor can be a clinometer.
The touchless movement sensor can be an accelerometer, which is combind with at least one angular rate sensor to an inertial measurement unit.
The touchless movement sensor can be an accelerometer, which is combind with at least one gyroscope to an inertial measurement unit.
The device can have at least one sensor and a control system, that switches off the areas of the display that are covered.
The device can have at least one additional source of electromagnetic radiation.
The additional source of electromagnetic radiation can emit infra-red light.
The device can have at least one additional source of mechanical waves.
The additional source of mechanical waves is a loudspeaker.
The device can have a communication interface to other computer systems on the basis of infra-red light.
The device can have a communication interface to other computer systems on the basis of the radio technology.
The device can have a contact-based connect- ion to an external power supply.
The device can have a wireless power supply on the basis of induction.
The device can have an own internal power supply.
The own internal power supply can be a flexible respectively bendable battery.
The device can have a radio signal receiver.
The device can have a satellite receiver.
The device can have a Global Positioning System (GPS) receiver.
The device can have at least one jack to plug-in other devices.
Problems:
1. Rollable, visual devices need a case/closure or frame to keep their shapes.
2. Flexible devices need a sensor for a touchless user interface.
3. Flexible mobile devices need sensors for a touchless user interface.
4. Flexible devices need sensors for tracking their motion.
5. Flexible devices need a depth sensor for tracking the motion of objects, i.e. hand , head and body of user, gestures.
6. Flexible devices need a 3D camera for making 3D images.
Solution:
See the description of the problems above and the further informat- ions below.
Depending on its size and features, the electronic visual display can be a wearable computer, specifically a smartwatch, a mobile/cell phone, specifically a smartphone, a tablet computer, a laptop, an all-in-one personal computer, a television horizontally or vertically curved and bended, a next generation virtual reality workbench, a virtual reality homebench, and so on.
As examples, the figures below show a variant of the flexible/bend- able, foldable, and rollable electronic visual display with two parts connected by a hinge in closed and opened states with different angles.
The figure 1 shows a two-part device in closed state and with the flexible display outside (1) with case part (2), case part (3), and hinge (4) as 2D cross-sectional view from the side.
The figure 2 shows a two-part device in closed state and with the flexible display inside (1) with case part (2), case part (3), and hinge (4) as 2D cross-sectional view from the side.
The figure 3 shows a two-part device in opened state (1) with case part (2), case part (3), and hinge (4) in the variant with a flexible material and a accordion-/bellow-like folding mechanism (5) as 2D cross-sectional view from the side.
The figure 4 shows a two-part device in closed state with the flex- ible display outside and the case parts touching each other (1) with case part (2), case part (3), and hinge (4) as 2D cross-sectional view from the side.
The figure 5 shows a two-part device in opened state (1) with case part (2), case part (3), hinge (4), flexible display (6), first lens of the stereo-camera (7), second lens of the stereo-camera (8), loud- speaker (9), and microphone (10) from top-down.
© Ontonics
As further examples in relation with this Further steps, the images of the Further steps of our business units Ontoscope and intelliTablet of today show mobile devices with different types of designs.
Also, the images below show the concept Mirage Table by the com- pany Microsoft that we adapted in the OntoLab and added a flexible 3D display technology of us, so that no projector is needed, as with the original concept or with a virtual reality workbench, and with our flexible 3D display technologies even no shutter glasses are needed with our flexbench and homebench. The iFlex technology is used to adjust the display for getting a better viewing angle or, if needed, to put the device away or transport it to another place.

Microsoft and OntoLab
In this way, we have revolutionized computing, working, communic- ating, and entertainment once again and reborn the personal comp- uter.
Now imagine how fascinating will be watching TV, surfing in our world web, or playing computer games with our solutions, for example with a homebench or a playbench that is 1 meter deep, 1 meter high, and 1.50 meter wide, or with a mobile workbench of us.
The invention and all related designs (see the Further steps of Ontoscope an intelliTablet of today below) are copyrighted and patent pending.
We also added a new variant of some of our technologies.
We developed a new variant of a basic component.
We also optimized an older type of device in a very elegant way, which uses two well known technologies independently or together.
Ontoscope Further steps 4:14 CET
Today, we would like to present our next Ontoscope model with the OOO, aka. Trible Zero, Triple O, or simply Triple or O³, that is the first device with our iFlex technology and based on the design concepts Tag of the company NEC and 888 of the company Nokia (see Original vs. Inspiration, Sketches, and Sneak Preview of the 28th of October 2008 and the Original vs. Inspiration of the 9th of July 2014) and flexible displays of Nokia and other companies, which all were developed further by us (see the Ontonics Further steps of today above for example).
The Ontoscope OOO is around 8 mm thick in the opened state and 14 mm in the closed state folded one time, and 34 mm thick folded two times, and might have a shorter hinge or only one or two hinges depending on the specific variant (see the images below).


© Nokia, Sara Forsmark, and Ontoscope
intelliTablet Further steps 4:14 CET
Today, we would like to present the next tablet computer series of intelliTablets with the 2- and 3-foldable tablets based on our Onto- scope and iFlex technologies, and overworked original designs shown in the past.

© Christian de Porter, Mathieu Maurel, Kyocera, :I, :I, and intelliTablet
Have we promised too much?
This is the next step after we in the OntoLab and nobody else cre- ated this type of devices with the Ontoscope technology, inclusive MobileKinetic/MobileKinect in the year 2007.
12.July.2014
Ontonics Further steps
We have developed an interesting technology further with our vari- ant and two elegant ways of its implementation.
This new variant can even be combined with another elegant technology of us.
We also developed a new component.
13.July.2014
Comment of the Day #1
Big data mining
Comment of the Day #2
"Next!!!", [C.S., Today]
Ontonics Further steps 03:00 CET
Because very well known manufacturers of graphic and integrated processors were not able to fulfill our requirements and even refused to collaborate with us at all, we simply developed our own system in a package already some years ago, which we would like to present today.
Yes, customers can have 64 bit ARMs and use a true Linux distribut- ion of their choice and trust for system developments and applicat- ions, like for example OntoLinux, but better not Android of the com- pany Google (see the related Clarification of the 9th of July 2014).
Initial variant:
The invention is an integrated semiconductor component that has at least three independent integrated system components, which are arranged in a circular way respectively as a ring and are connected by a wireless interconnect respectively intraconnect.
Last variant:
The invention is an integrated semiconductor component that has at least three independent integrated system components, which are arranged in a circular way respectively as a ring, have the same distance to each other, and are connected by an interconnect respectively intraconnect.
The integrated semiconductor component can have one independ- ent integrated system component, that is a system on (a) chip, and a network on (a) chip, which connects its single independent comp- onents among themselves.
The integrated semiconductor component can have one independ- ent integrated system component, that is a system in (a) package, and a network in (a) package, which connects its single independent components among themselves.
The integrated semiconductor component can have an additional network, which is laid round the independent system component as a ring.
The integrated semiconductor component can have a hole be- tween the independent integrated system components.
The network topology of the interconnect can be a Cayley graph.
The interconnect of the integrated semiconductor component can be a wireless intraconnect, that has at least one modem respective- ly transceiver, which transmits and receives data through electro- magnetic waves.
The wireless intraconnect of the integrated semiconductor comp- onent is based on radio waves.
The wireless intraconnect of the integrated semiconductor comp- onent is based on microwaves.
The wireless intraconnect of the integrated semiconductor comp- onent is based on infrared rays.
The wireless intraconnect of the integrated semiconductor comp- onent is based on (visible) light rays.
The wireless intraconnect of the integrated semiconductor comp- onent is based on x-rays.
The interconnect of the integrated semiconductor component can be wire-/cable-based intraconnect, that has at least one network switch, which is positioned in the center of the independent inte- grated systems respectively the processors.
The transmitter of the wireless intraconnect can have at least one laser.
The transmitter of the wireless intraconnect can have at least one maser.
The independent integrated systems of the integrated semicon- ductor component can have a Y-switch, that is directly connected with the system bus respectively intraconnect of the integrated semiconductor component and can directly pass the data to a next network node by cut-through switching.
The integrated semiconductor component can have an independ- ent integrated system component, that has at least one processor with at least one processor core.
The integrated semiconductor component can have an independ- ent integrated system component, that has at least one processor with a resonant clock mesh.
The integrated semiconductor component can have an independ- ent integrated system component, that has a clockless, asynchronous processor.
The integrated semiconductor component can have an independ- ent integrated system component, that has at least one processor, which is a graphics processing unit.
The integrated semiconductor component can have an independ- ent integrated system component, that has a field-programmable gate array.
The integrated semiconductor component can have an independ- ent integrated system component, that has an associative machine as processor.
The integrated semiconductor component can have an independ- ent integrated system component, that has a random access memory.
The random access memory of an independent integrated system component can be a volatile random access memory.
The random access memory of an independent integrated system component can be a non-volatile random access memory.
The integrated semiconductor component can have an independ- ent integrated system component, that has a content-addressable memory.
The integrated semiconductor component can have an independ- ent integrated system component, that has a persistent data memory.
The integrated semiconductor component can have an independ- ent integrated system component, that has a connection to a random access memory.
The integrated semiconductor component can have an independ- ent integrated system component, that has a connection to a vol- atile random access memory.
The integrated semiconductor component can have an independ- ent integrated system component, that has a connection to a non- volatile random access memory.
The integrated semiconductor component can have an independ- ent integrated system component, that has a connection to a cont- ent addressable memory.
The integrated semiconductor component can have an independ- ent integrated system component, that has a connection to a pers- istent data memory.
The integrated semiconductor component can have at least two processor dies, that are stacked in three dimensions to a processor stack.
The integrated semiconductor component can have a processor stack, that is stacked in three dimensions to a stack of processor stacks.
The integrated semiconductor component can have at least two volatile random access memory dies, that are stacked in three dimensions to a volatile memory cube.
The integrated semiconductor component can have a volatile random access memory die, that is stacked on a processor die in three dimensions.
The integrated semiconductor component can have a volatile random access memory chip, that is stacked on a processor in three dimensions.
The integrated semiconductor component can have a volatile random access memory cube, that is stacked on a processor in three dimensions.
The integrated semiconductor component can have a volatile random access memory cube, that is stacked on a processor stack in three dimensions.
The integrated semiconductor component can have a volatile random access memory cube, that is stacked on a stack of processor stacks in three dimensions.
The integrated semiconductor component can have at least two non-volatile random access memory dies, that are stacked in three dimensions to a non-volatile memory cube.
The integrated semiconductor component can have a non-volatile random access memory die, that is stacked on a processor die in three dimensions.
The integrated semiconductor component can have a non-volatile random access memory chip, that is stacked on a processor in three dimensions.
The integrated semiconductor component can have a non-volatile random access memory cube, that is stacked on a processor in three dimensions.
The integrated semiconductor component can have a non-volatile random access memory cube, that is stacked on a processor stack in three dimensions.
The integrated semiconductor component can have a non-volatile random access memory cube, that is stacked on a stack of processor stacks in three dimensions.
The additional network can connect the random access memories of the independent integrated system components of the integrated semiconductor componentchips in a unified way, so that the sepa- rate address spaces of the random access memories are addressable as one single address space.
The integrated semiconductor component can have at least two rings with independent integrated system components, that are stacked in three dimensions, so that the single rings become a cylinder.
The integrated semiconductor component can have at least two rings with independent integrated system components, that are arranged in two dimensions, so that the single rings become a grid of rings.
The integrated semiconductor component can have a wireless interconnect to at least one further integrated semiconductor comp- onent.
The integrated semiconductor component can have a wire-/cable- based interconnect to at least one further integrated semiconductor component.
The integrated semiconductor component can have a communic- ation interface to other computer systems on the basis of infra-red light.
The integrated semiconductor component can have a communic- ation interface to other computer systems on the basis of the radio technology.
The integrated semiconductor component can have a cooling system, that has at least one fan, which blows air over the outside of the integrated semiconductor component.
The integrated semiconductor component can have a cooling system, that has at least one fan, which blows air through the hole of the integrated semiconductor component.
The integrated semiconductor component can have a cooling system, that has at least one heat pipe.
The integrated semiconductor component can have a cooling system, that has at least one closed looped liquid cooler.
The integrated semiconductor component can have a cooling system, that has at least one waste heat energy recovery system, which is based on the thermoelectric effect.
The integrated semiconductor component can be mounted on a printed circuit board, which is made in such a way, that it has contacts, which allows the insertion into a slot of a motherboard.
The integrated semiconductor component can be mounted on a printed circuit board, which is made in such a way, that it has a plug, which allows the mounting on a motherboard. (added on the 14th of July 2014)
The integrated semiconductor component can be mounted on a printed circuit board, which is made in such a way, that it has at least one slot, which allows the insertion of an embedded system. (added on the 14th of July 2014)
The integrated semiconductor component can be mounted on a printed circuit board, which has at least one connection to a computer system, that is used as the control respectively monitor system and offers interfaces to peripheral devices. (added on the 14th of July 2014)
Problems:
1. Actual systems on a chip or systems in a package entail wiring costs.
2. Systems on a chip or systems in a package suffer from space bottlenecks.
3. Systems on a chip or systems in a package suffer from perform- ance bottlenecks.
Solution: (see above)
The integrated semiconductor component can be used for the con- struction of accelerated processing units, graphic processing units, and co-processors, as compute nodes of supercomputers, or even as a stand-alone computing system like a personal computer. The new integrated semiconductor component in the variant that works with radio waves delivers a cut-through switching delay of under 4 ns per network hop, which can be decreased further, and delivers in general a bandwidth that is around 10 to 35% higher compared to a system with a network topology based on a fat-tree, specifically in use cases with random selections of nodes with uniform probability, The latter qualifies the integrated semiconductor component as a universally applyable computing system. In addition, the reliability of the integrated semiconductor component is virtually 100% with a single ring and over 99% in a grid of several integrated semiconduct- or components, as long as more than 45% of the components are running. Last but not least, the system has an outstanding low en- ergy consumption due to the usage of 3D stacked processor and memory units, different energy recovery systems, and specifically in the variant with a wireless interconnect, a very power efficient net- work system.
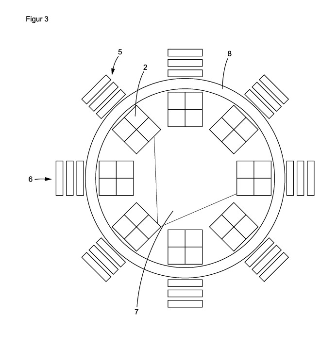
As examples, the figures below show a variant of the integrated semiconductor component with wireless interconnect, a processors stack and a random access memory cube further system compon- ents as front, side and top view.
The figure 1 shows an independent integrated system component (1) with processor stack with four processor layers (2), transmitter module (3), and reveiver module (4) as front view.
The figure 2 shows an independent integrated system component (1) with processor stack with four processor layers (2), transmitter module (3), and volatile random access memory cube with one logic layer and three memory layers (5) as side view.
The figure 3 shows an integrated semiconductor component (6) with processor stack with four processor layers having four cores each (2), volatile random access memory cube (5), angle of radiation of a transmitter of a wireless interconnect (7), and additional ring net- work (8) between processor stack (2) and random access memory cube (5) from the top.
The angle of radiation shown in the figure 3 is around 70° wide, but it only depends on the count of transceivers a single independet integrated system component has and how the transceivers are adjusted respectively calibrated. In the case of the use of RF trans- ceivers a lower angle of around 30° should be chosen, though further research and development are suggested by a third party.
© Ontonics
As further examples in relation with this Further steps, the images of the Original vs. Inspiration of today show closely related computer systems with wire-/cable-based and wireless intra- und intercon- nects, and the basic components of the independent integrated systems of an integrated semiconductor component.
An exemplary configuration of such an integrated semiconductor component in the system in a package variant has 8 rings respect- ively levels each assembled with 8 compute nodes, which again have each 4 stacked processors with 4 cores and stacked memory, a dia- meter of around 15 cm, and a height of around 16 cm without cool- ing system. The performance and the bandwidth of this exemplary system with 64 compute nodes, which have together 256 processors with 1024 cores, have not been calculated exactly, but it is beyond the standard solutions by far. Under the assumption that one comp- ute node performs 18 Tera FLoating-point Operations Per Second (TFLOPS) we get 1.152 PetaFLOPS, and the bandwidth is in the region of 100s of Terabits per second (Tbps).
The performance of such an integrated system is on the level with the worldwide fastest supercomputers of the year 2008 and can easily by increased by taking 16 compute nodes, 8 stacked process- ors with 128 cores per compute node, or/and a 3 × 3 grid of 9 rings for example, as shown in one of the images of the Original vs. Inspir- ation of today below.
Another exemplary configuration of such an integrated semiconduct- or component in the system on a chip variant for mobile devices or a graphics processing unit has 1 ring respectively level assembled with 8 compute nodes, which again have each 4 stacked processors with 4 cores and stacked memory, a diameter of 6 cm, and a height of around 1.3 cm without cooling system. The performance and the bandwidth of this exemplary system with 8 compute nodes having together 32 processors with 128 cores has not been calculated exactly. But under the assumption that one compute node performs 5.5 TFLOPS we get 44 TFLOPS, and the bandwith is in the region of around 100 Tbps. The network features semi point-to-multipoint communication on the physical layer by design, which can easily be extended to full point-to-multipoint communication and is compar- able to the way of communication of neurons in a brain, multicast communication on the application layer, and works virtually without switching delays, which are in the region of around 600 picoseconds per network hop. (section added on the 14th of July 2014).
So let's call it very fast and approve that it fulfills the requirements for a supercomputer on a chip or in a package by the Defense Ad- vanced Research Projects Agency (DARPA).
The integrated semiconductor component is ideally suited for applic- ations in fields like e.g. multimedia arts, virtual, augmented, and mixed reality, entertainment, scientific research, internet server farms and cloud computing systems, high-performance computing, big data processing, neuromorphic computing, automotive computing, and robotics to name just some few.
The invention and all related designs (see the Original vs. Inspiration of today below) are copyrighted and patent pending.
Original vs. Inspiration
The shown images are closely related with the Ontonics Further steps of today (see above).
The top image shows a supercomputer architecture with its comp- ute nodes, that are arranged in a ring topology, and its wire-based interconnect for the compute nodes, that is placed in the center of the ring.
The second image shows a cylindric topology of a server rack of a wireless data center based on radio frequency transceivers respect- ively modems.
The third image shows an arrangement of cylindric, wireless data- center racks.
The last images show a so-called hybrid memory cube, also known as 3D stacked memory (left image), and a resonant clock mesh for processors. Each technology offers a power saving in the range of 10 to 30% compared with actual solutions.
One specific implementation of the invention presented in the Onto- nics Further steps of today is the integration of these four sources of inspiration to a supercomputer on a chip or in a package with a ring topology that can be stacked to result in a cylindrical shaped integrated semiconductor component.

© Oak Ridge National Laboratory, Microsoft, :I and Micron Technology, and Cyclos
14.July.2014
Original vs. Inspiration
Stargate saga, Zero Point Module (ZPM)
© Metro-Goldwyn-Mayer Studios Incorporated
We do not know why, but we have the ZPM as a computer case in our mind everytime when we are thinking about our concept of the Wireless Supercomputer (WiSer) and its variants as a cylindrical constructed Wiser on a Chip (WoC) and Wiser in a Package (WiP) component presented in the Ontonics Further steps of yesterday, and about O#.
By the way: If our readers have the impression that an exemplary figure of a Wiser component looks like a little Stargate, then some fascinating things come together some- how.
Innovation happens. Do not toast your brain.
Ontonics Further steps
We thought about an integration of two different applications of a material, which has a fascination of its own.
intelliTablet Announcement
We are pleased to confirm that two planned models of intelliTablet will get our Wiser on a Chip (WoC) component with 128, 256 or even more processor cores (see also the Ontonics Further steps of the yesterday), and surely will feature wireless streaming, as well as wireless processor and memory sharing following our original P@d computer technology, despite that the mobile devices do not really need these features for delivering an absolutely amazing user experience.
We invite computer game developers to team up with us, so that we can deliver never seen before mobile gaming experiences together.
15.July.2014
Comment of the Day
High fidelity gaming
Hifi gaming
Ontonics Further steps
We have developed our variant of an already interesting technology mentioned in the Further steps of the 12th of July 2014 further with a new way of its implementation. The original technology is already fascinating and, to be honest, we have not looked at it with full attention at first, so that we overlooked the complete smartness behind the concept until the 12th of July 2014. But now our latest development gives it a further push, which is truly revolutionary.
While writing this message, we optimized another technology of us by its integration with this new way of implementation.
Also, since yesterday we are thinking about the realization of the original technology in the initial variant or in our variant, which al- ready led into the direction of the latest development, but now we can add the latest development to our considerations as well. After our readers will have a first look at it and finally understand its elegance, they will be amazed.
We also have developed a device for people with diabetes some years ago, which is by far more elegant than the common blood test or wearing a contact lens. A prototypic device is already available for clinical tests and for everybody, who wants to get rid of the un- pleasant procedure.
But our ultimate goal is to cure the disease in contrast to all the other companies acting in this field.
Ontonics Further steps
We are pleased to confirm the start of the production phase of a Wiser on a Chip (WoC) with:
8 × 1-core or 4-core = 8-core with 64-bit or 32-core with 32-bit Central Processing Unit (CPU),
8 × 8 × 4-core or 8-core = 256-core or 512-core Graphics Proc- essing Unit (GPU),
L1- and L2-caches,
shared L3- and L4-caches,
Static Random Access Memory (SRAM),
Random Access Memory (RAM),
(Synchronous) Dynamic Random Access Memory ((S)DRAM),
Distributed Global Address Space (DGAS), and
many more features.
The WoC was designed with mobile devices in mind and hence has a small height, an efficient power management, and a special cooling system (see also the Ontonics Further steps of the 13th of July 2014).
We wish everybody happy coding, high-fidelity gaming, and high- perfomance computing.
OntoLab Tesla #2
We are pleased to confirm the start of the production of a little Wiser on a Chip (WoC) as an additional integrated semiconductor component in conjunction with our tiny embedded system Tesla (see also the announcement given in issue #1 of the 8th of February 2014) with:
8 × 1-core = 8-core 32-bit Central Processing Unit (CPU),
8 × 4-core = 32-core Graphics Processing Unit (GPU),
L1- and L2-caches,
shared L3- and L4-caches,
Static Random Access Memory (SRAM),
(Synchronous) Dynamic Random Access Memory ((S)DRAM),
Distributed Global Address Space (DGAS), and
many more features.
The little WoC was designed with an embedded system for educat- ion, research, prototyping, or custom projects in mind (see also the Ontonics Further steps of the 13th of July 2014 and the Ontonics Further steps above).
Investigations::Multimedia
British Broadcasting Corporation: Yesterday, the already convicted criminal journalist Leo Kirch of that broadcaster publicated a report about a mobile device by the company Nvidia and advertised again the company Google. For sure, the report was publicated due to our mobile devices, like the latest Ontoscope and intelliTablet models, and our new System on a Chip (SOC) and System in a Package (SiP) technology presented in the last two months (read for example the related Further steps of June 2014 and July 2014).
In this conjunction, we would like to quote several reports of the broadcaster at first, that are about a clone of the original and uni- que Ontoscope paradigm by C.S. made by Google:
The device would be a "smartphone with 3D sensors [...] that en- ables it to create 3D maps of a user's surroundings indoor mapping", [BBC, 20th of February 2014].
The device "aims to give mobile devices a human-scale understand- ing of space and motion [...] [In fact, this feature of aware- ness of a mobile device with a 3D camera is an essential part of the copy- righted Ontoscope paradigma by C.S.. See the related Clarification of the 8th and 22nd of June 2013, and the 29th of April 2014, as well as the Clarification #1 of the 23rd to May 2014.]", and "The phone emits pulses of infrared light and records how it is reflected back allowing it to build a detailed depth map of the surrounding space [...] [This technical description was given in other reports by other media as well. Said this, the device features a common 3D optical sensor respectively 3D camera that applies the technique of structured light with point clouds.]", [BBC, Spencer Kelly, 3rd March 2014].
The "[...] tablet computer capable of taking 3D images [...] will have two rear-facing cameras and advanced imaging software [...] [In fact, we have here nothing else than the first tablet computers with Ontoscope technology of our business division intelliTablet and def- initely not an invention of the company Google or one of its business partners.]", "[...] makes use of infrared sensors to measure depth of surroundings [... to] create [...] a 3D map of indoor environments [...]", "[...] for building and viewing virtual reality environments [...] [Why the paradigm of virtual reality was mentioned here is also suspicious somehow, because the report of S. Kelly quoted before was related with the augmented reality paradigm, like reports of similar clones of our mobile devices before.]", and ""A mobile device that shares our sense of space and movement, that understands and perceives the world the same way we do." [See again the rel- ated Clarification listed above.]",[BBC, 23rd of May 2014].
"Nasa equips space robots with smartphones. Nasa plans to send Google's 3D smartphones into space to function as the "eyes and brains" of free-flying robots inside the Space Station [...] [Here we can see the undeniable copyright infringement by the broadcaster and also by the NASA, because this comparison with a robot head was always given by C.S. in relation with the Ontoscope paradigm.], "[...] uses the 3D cameras embedded in Google's latest smartphones to give the handset a human-scale understanding of space and mot- ion [...] [The term "understanding" is related with artificial intellig- ence and spatial awareness, and hence we have here again an ess- ential part of the Ontoscope paradigm.]", "[...] the phones will use their onboard motion-tracking cameras and infrared depth sensors to safely navigate around [...]", "[...] more advanced phones [...] [No, such a device is already called an Ontoscope.]", "[...] artificial in- telligence and robotics [...] [See the related comments to the some quotes made before.]", "This is an incredibly clever way to unite different technologies in an unexpected way. [And the geniuse is C.S. and not a fraudster of the NASA or the company Google.]", "[...] ingenuity [...]", "Robots were and still are usually very expens- ive and complex, thus they often don't match to a cost-benefit bal- ance. By using consumer electronics such as smartphones, we can significantly reduce down the development cost for robots with high-performance capabilities. [Thank you very much for the next proof that C.S. is the genius and not a fraudster of the NASA or the company Google.]", and "[...] the basic idea behind the mapping system, a technique known as Slam (simultaneous localisation and mapping) [...]". [In a related report by the media company Reuters referenced in this quoted report the so-called Kinect technology of the company Microsoft was named in conjunction with the function- ality of the Ontoscope clone, which in fact is our MobileKinetic/ MobileKinect technology derived from the Ontoscope paradigm. Read also the case of Reuters in the related Investigations::Multimedia of the 8th of July 2014.], [BBC, 8th of July 2014].
In addition, the already mentioned report about a mysterious mobile handheld gaming device by the company Nvidia was publicated by L. Kirch. Because the company also worked together with the company Google to create the clone of our intelliTablet models with Ontoscope technology, the journalist deliberately mislead the public again with wrong statements. We quote the report as follows:
"[...] a new gaming device that can link up to a PC's graphics card to supercharge its own processing power when used in a different location [...]", "[...] separate controller for the Android device, which can also stream PC games to a TV via its HDMI-out port [...]", "[...] the new device requires your PC to have a relatively new [the company] GPU [graphics processing unit] to make use of its abilities [...]", "[... the company]'s new [...] mobile chip - which includes both an ARM-based central processing unit (CPU) and a 192-core GPU [...] has only been used in a small number of devices, including a tablet [...], a smart TV [...] and Google's experimental 3D-gest- ure-sensing [...] tablet [...] [Obviously, the System on a Chip (SoC) of the company draws much too much power and all of its customers do not have a powerful battery, in stark contrast to us. If we under- stand this statement correctly, then either the company Google also wants to copy the two or four little cameras or a 3D camera at the frontside of our Ontoscope and intelliTablet models (see the related Further steps on their websites) or otherwise the journalist has lied again, as he is doing all the time.]", and "A spokeswoman for [the company] would not confirm the details of the device [...]", [BBC, Leo Kirch, 14th July 2014].
We summarize in brief once again. The reports explained as part of the criminal activities that the mobile devices cloned by the company Google have motion-tracking cameras and infrared depth sensors at the backside of the case/closure respectively two rear-facing 3D senors respecitively 3D cameras, which emit pulses for 3D mapping, features spatial awarness, does also motion tracking for the feature of spatial self-awareness, and now has gesture control. This proves that the devices are an Ontoscope and an intelliTablet with Onto- scope technology, and hence our related copyright has been infring- ed by the broadcaster, the company Google, and the NASA in individual ways.
Important to note is also the fact that in the latest report only the one Ontoscope feature of gesture control was named, while in other reports only other single Ontoscope features were named, but not all Ontoscope features in one continuous text and always with the use of different special terms, so that all of our descriptions given in the last 6 years were covered, which proves on the one hand that every participating entity is aware about our intellectual properties and copyright, as well as their infringements, and on the other hand that at least the company Google and the aerospace agency NASA have acted together against C.S. by following an orchestrated strategy, which constitutes a serious crime. We claim that the British Broad- casting corporation has also taken part in this orchestrated attack on C.S..
Last but not least, at least one report about the gaming device by the company Nvidia was publicated by another website on the 2nd of July 2014 already, which even referenced a message in a blog on the website of the company itself, which questions the reason why it was publicated 12 or more days later and a further time what are the true goals of that criminal journalist of the British Broadcasting Corporation.
16.July.2014
Ontonics Further steps
We have optimized a technology of us and now we are working on a further improvement.
We also have developed a further generation of one of our technolo- gies, though this work has to be classified as foundational research.
Clarification
Because we think that many readers could not classify our little broad hint given in the description of the second exemplary Wireless Supercomputer (WiSer) configuration in the Ontonics Further steps of the 13th of July 2014 into the right context, when we made the statement that its way of networking is "comparable to the way of communication of neurons in a brain", we would like to clarify that our integrated semiconductor component was also designed with the possibility in mind to conduct the common deterministic supercomp- uting, but also at least the same way of non-deterministic massively parallel computing, as it is done with e.g. the Spiking Neural Network Architecture (SpiNNaker) and its 3D torus network topology, even with a Field-Programmable Gate Array (FPGA).
But our circular respectively cylindrical Wiser concept, and the relat- ed system architectures and implemented components in the var- iants with an additional ring network are even much more better, be- cause we have not simply "replac[ed] the threedimensional “wet- ware” geometry with two-dimensional networks of fast wires carry- ing multiplexed events", as it is obvious with 3D structures on all system levels, and "[missed the option of] feedback paths that help fine-tune brain performance", as it could be seen with the system design and the different network topologies made possible by it. In fact, we have even abstracted the 3D geometry of a brain with an extremely flexible and universal mathematical model, so a Wiser can be programmed with mind-blowing network topologies and without the need for idealization due to the way of networking in general, and also added many other features as standards, options or/and extensions, leading to advanced artificial intelligence. Think of the Resource Description Framework (RDF) as a network topology.
The SpiNNaker mentioned above is used as the neuromorphic comp- uting platform for the fraudulent Human Brain Project (HBP) of the European Comission that is led by the defrauding Henry Markram at the also École Polytechnique Fédérale de Lausanne (EPFL) and was installed to steal our ideas, concepts, intellectual properties, invent- ions, and further achievements of C.S. (see the related case of the Government of the Eurpean Union in the Investigations::AI and Knowledge management, Multimedia and Robotics of the 21st of May 2011), most potentially for the company Google, which misuses the tax founded research in the U.S.A. and the European Union as a trick to not fund the expensive first phases of research and to steal other's intellectual properties in this way, specifically our properties, as it can be seen in the case of the Human Brain Project with the heavily criticized focus on simulation, robotics, and high-performance computing respectively end products instead of fundamental re- search, as it was said in the initial project proposal for getting the sponsorship by the European Comission, and the related marketing by the project manager H. Markram with statements like "for the use of the whole community".
This kind of serious criminal activities has been observed by us sev- eral times in the last years and always in conjunction with the nam- ed research institutes in the Swiss and the B.R.D., as well as other research institutes in the B.R.D., U.K., F.R., Netherlands, and other member states of the European Union, but also Australia and South Korea. For example H. Markram's counterpart in the field of robotics is Raffaello D'Andrea, which leads to members of the European Com- ission, who most potentially are bribed or at least deliberately mis- led by for example the companies Google, Amazon, and International Business Machines (see the case of it and Swiss Federal Institute of Technology in Zurich (Eidgenössische Technische Hochschule Zürich (ETH Zürich)) in the Investigations of the 26th of June 2008 and its case in the Investigations::AI and Knowledge management, Multi- media and Robotics of the 19th of August 2011), and again to the École Polytechnique Fédérale de Lausanne (EPFL), but also to the Swiss Federal Institute of Technology Zurich, the University of Zurich (UZH), and in the B.R.D. at least the Technical University Munich (TUM) are collaborators in these cases and together with leading research institutes in the named countries in other highly questionable activities (see for example the Investigations::Multi- media, Artificial Intelligence and Knowledge management, Robotics, Aviation and Space of the 28th of January 2012).
It is time that the scientifc community in particular and the societies in general get rid of all these parasitic entities. Said this, we give the recommendation to not write open letters, but to directly go to the prosecutors.
17.July.2014
Comment of the Day
Tiny Tesla
Big Tesla
Autowiser
Bikewiser
Planewiser
Shipwiser
OK, robot
OntoLab Tesla #3 00:30 CET
In conjunction with the issue #2 of the 15th of July 2014 we thought that it would be nice to offer a third Tesla series with less supercomputing power, which we called Tiny Tesla, and also that it would be elegant to use components of open source hardware projects for its immediate implementation, like for example the embedded systems of Arduino and the derived TinyDuino embedded systems of Tiny Circuits, which can be stacked as well, though it is a little different than we have in mind.
The Tiny Tesla series features in general:
one or more processors respectively compute nodes,
Random Access Memory (RAM),
stackable shields,
I/O shields with
- DC-to-DC converters,
- DC-to-AC (DAC) converters,
- AC-to-DC (ADC) converters, or/and
- Radio Frequency (RF) network module for Bluetooth and WLAN,
as well as with
- sensors of all types,
and much more.
The Tiny Tesla with wire-based network has:
1 Central Processing Unit (CPU),
8 Digital Signal Prossesors (DSPs) or/and Floating-Point Units (FPUs), and
SRAM.
The Tiny Tesla with wireless network, aka. Tiny Wiser, features:
8 processors,
ring network, and
SRAM.
The following processors are used with embedded systems like for example the ones of Arduino:
AT91SAM3X8E,
ARM Cortex-M ARMv7-M Cortex-M3,
ARM Cortex-M ARMv7E-M Cortex-M4,
STM32F2,
STM32F4,
ATmega168,
ATmega328,
ATMega1280,
ATMega2560, and
ATmega32u4.
We are also looking at following processors:
Atheros AR9331,
ARM ARM11 ARMv6K ARM11 MPCore, and
ARM Cortex-A ARMv7-A Cortex-A8.


© Tiny Circuits, Arduino, and OntoLab
Roboticle Announcement PRA #1 12:00 CET
We are pleased to announce our first robot of the new series of Personal Robot Assistant (PHA) and Family Robot Assistant (FRA), which features a special Ontoscope model as head, brain, and eyes, as well as the following features:
outstanding original masterpiece design by C.S.,
industry proven mechanics,
Tesla supercomputer system,
touch-screen,
3D camera,
microphone,
speech recognition,
voice command, inclusive our signature command "OK, Robot",
gesture control,
environment sensor,
loudspeaker,
home automation interface,
and much more.
What we still not have is a name. Nevertheless, you will love it.
Style of Speed Announcement AutoWiSer #1 14:30 CET
We are pleased to announce our first Wireless Supercomputer (WiSer) for automobiles, that we called AutoWiSer correspondingly and specifically designed for our original and unique range of Active Components, automotive Computing and Multimedia solutions, like the Artificial Intelligence suite and the included AutoBrain, as well as our leading system platforms for autopiloted and autonomous driving, the Knight Intelligent Transport Totality (K.I.T.T.) and the Knight Autocybernetic Roving Robotics (K.A.R.R.).
With the AutoWiSer we can demonstrate once again our uncompar- able Hightech Competence. While other manufacturers have only a Graphics Processing Unit (GPU) at hand, which delivers some few GFLOPS of computing power for some few autonomous functions and assistant systems, we can deliver a true supercomputer with out- standing performances as part of a unified system.
© :I
18.July.2014
Ontonics Further steps
We developed the basic technology of a totally fascinating concept of C.S. further by using a basic component in an even more elegant way, that we overlooked somehow in the past. The concept has truly a high potential to become a design icon as well.
Roboticle Further steps PRA #2
We are pleased to announce our second robot of the Personal Robot Assistant (PHA) series, which has the following features:
modern design,
industry proven mechanics,
Tesla supercomputer system,
touch-screen,
3D camera,
microphone,
speech recognition,
voice command or speech control, inclusive our signature command "OK, Robot",
gesture control,
environment sensor,
loudspeaker,
home automation interface,
and much more.
Style of Speed Further steps
We are pleased to inform the public about our newest space prop- ulsion system based on a new design that delivers a performance, which is at least 50 times higher than the performance of a Variable Specific Impulse Magnetoplasma Rocket (VASIMR) thruster, and also eliminates several flaws of such solutions. The performance or/and efficiency of our space propulsion system even seems to be much higher due to the selected technologies and their clever arrange- ment and interaction, but this has to be evaluted in details in the next steps.
Best of all, in contrast to a really usable VASIMR thruster our space propulsion system can be realized today.
Furthermore, the new space propulsion system can also be adapted for an aerospace propulsion system, that consequently will replace our actual air-augmented and air-breathing Active Hypersonic/ Plasmajet Engines.
Everybody is qualified as investor or customer.
20.July.2014
Ontonics Website update
We have beautified the descriptions that are related with neural networks and Wisers. In this conjunction, we corrected some faults without adding addtional informations and renamed Neural 3D System Core and Chip/Processor (N3DSC), Neural 3D System on a Chip (N3DSoC), and Neural 3D System in a Package (N3SDiP) to Neural Net 3D System Core and Chip/Processor (NN3DSC), Neural Net 3D System on a Chip (NN3DSoC), and Neural Net 3D System in a Pack- age (NN3DSiP).
21.July.2014
Ontonics Website update
We have updated the description of the exemplary Stroetmann Fus- ion cycles after we found out that we have reinvented the hydrogen bomb basically, or said more constructively and precisely, the inte- gration of the hydrogen burning, like e.g. the hydrogen fusion of the first step of the start reaction of the proton-proton chain reaction, with the deuterium-tritium fusion and the neutron absorbtion by the lithium-6, which are based on the approach of the hydrogen bomb respectively the Castle Bravo bomb.
Other fusion paths might happen as well, like for example when the pp reaction goes on without the lithium (pp I branch) or with the production of lithium-7 (pp II branch; lithium burning), or when an- other fusion directly takes place, like for example the hydrogen-lithium-6 fusion or the hydrogen-lithium-7 fusion, depending on the temperature and other fusion process conditions, but somehow they should always yield in a(n aneutronic) fusion chain reaction.
©© Anynobody and Borb
© Ontonics
Everybody is qualified as investor.
22.July.2014
Ontonics Further steps
After we made an internal review we found out that we could en- hance the older multimedia concept, with which we toyed on the 20th of June 2014 and which was mentioned again in the Further steps of the 28th of June 2014, by using the solution mentioned in the Further steps of the 10th of July 2014. Said this, we can confirm today that we are close to the end of the refinement phase of the basic designs and also are short before the start of the production phase of new mobile devices now. Imagine the next generation of mobile devices and wait for further informations coming soon after we sorted out our alternatives and did some more formal tasks.
We also developed one of our concepts further by applying the in- tegrated circuit mentioned in the Further steps of the 24th of February 2014 in a slightly different way, so that it can be used in more versatile ways.
OntoLix and OntoLinux Website update
In the section Intelligent/Cognitive Agent of the webpage Links to Software we updated the link to the Belief-Desire-Intention (BDI) Semantic (World Wide) Web agent engine Nuin, because the original website is not accessible anymore. In addition, we added a link to the following document that is about Nuin:
Towards Practical Reasoning Agents for the Semantic Web.
23.July.2014
Ontonics Further steps 1:30 CET
Funny as it is, we were serious about announcing the original Raving Rabbids Flip-Flop Phone and Flip-Flop Tablet, aka. Bwahphone and Bwahpad, on the 22nd of June 2014, because we are ready with the development of our Ultra Devices now. For sure, the final devices will not look like the flip-flop, though special models could have at least the signature yellow and violet, or a waved yellow skin with a violet Y-shaped strap.
Said this, we would like to present an invention related with comp- letely flexible respectively bendable, foldable, rollable, and even stretchable next generation devices, and their potential applications and designs that we developed over the years.
The invention is an electronic visual display that has a flexible resp- ectively bendable apparatus for the optical signaling respectively presentation of changeable informations (short display), a control system, and a flexible respectively bendable case/enclosure made out of a (visco)elastic polymer respectively elastomer, that encases the display and the control system.
The device can be constructed as a sandwich-structure.
The device can have at least two electronic components, that are connected by at least one wave respectively zigzag or S-shaped spring.
The device's flexible respectively bendable case/enclosure can be made out of a synthetic rubber.
The device's flexible respectively bendable case/enclosure can be made out of a silicone rubber.
The device's flexible respectively bendable case/enclosure can be made out of a polychloroprene.
The device's flexible respectively bendable case/enclosure can be made out of a nitrile rubber.
The device's flexible respectively bendable case/enclosure can be made out of a polyurethane.
The device's flexible respectively bendable case/enclosure can be made out of PolyDiMethylSiloxane (PDMS).
The device's flexible respectively bendable case/enclosure can be made out of a polyimide.
The device's case/enclosure can have at least one hinge with at least two elements, that are connected by springs at one side and are determining the closing and opening angles of rotation as well as the bending radius of the case/closure by the sizes of their length and thickness.
The device's case/enclosure can have at least one mechanism, which keeps the hinge of the case/closure in at least one state.
The device's case/enclosure can have at least one spring, which keeps the hinge of the case/closure in at least one state.
The device's case/enclosure can have at least one shape-memor- izing element, which permanently memorizes the shape of the hinge of the case/closure to keep it in its last state.
The device can have a servo-motor to change the state of the flexible respectively bendable case/enclosure.
The flexible respectively bendable display of the device can have at least one single light-emitting component, that is connected to a further electronic component of the device by at least one (zigzag respectively s-shape) spring as stretchable wire.
The flexible respectively bendable display can be made out of a synthetic rubber.
The flexible respectively bendable display can be made out of a silicone rubber.
The flexible respectively bendable display can be made out of a polychloroprene.
The flexible respectively bendable display can be made out of a nitrile rubber.
The flexible respectively bendable display can be made out of a polyurethane.
The flexible respectively bendable display can be made out of PolyDiMethylSiloxane (PDMS).
The flexible respectively bendable display can be made out of a polyimide.
The flexible respectively bendable display can be a transparent display.
The flexible respectively bendable display can be a touch-sensitive display.
The flexible respectively bendable display can be a multi-layered/ stacked display, which is made out of at least 2 individually controll- able displays.
The flexible respectively bendable display can be an autostereo- scopic 3D display.
The flexible respectively bendable display can be a 3D display, that needs special glasse for watching, so that each eye sees the right image and hence a 3D-effect is created in the brain.
The flexible respectively bendable display as an autostereoscopic 3D display can have at least 2 individually controllable displays as layers, a touchless sensor at the front side of the device, and a control system, that controls the display by the touchless sensor.
The flexible respectively bendable display can be based on the Light-Emiiting Diode (LED).
The flexible respectively bendable display can be based on the laser diode.
The flexible respectively bendable display can be based on the Quantum dot based Light-Emiiting Diode (QLED).
The flexible respectively bendable display can be based on a so-called e-paper technology.
The flexible respectively bendable display can be based on a film made out of an optoelectronic phase-change material.
The flexible respectively bendable display can be based on the interferometric modulation.
The control system of the device can be a flexible electronic circuit.
The control system of the device can have at least one electronic component, that is connected to a further electronic component of the device by at least one (zigzag respectively s-shape) spring as stretchable wire.
The device has an additional computer system to process digital data, run software applications, and store data.
The additional computer system of the device can have at least one electronic component, that is connected to a further electronic component of the device by at least one (zigzag respectively s-shape) spring as stretchable wire.
The additional computer system of the device can be a flexible electronic circuit.
The control system of the device and the additional computer system can be integrated in one system.
The integrated system to control the device and to process data can be a flexible electronic circuit.
The device can have at least one touch-sensitive sensor.
The device can have at least one touchless sensor.
The touchless sensor can be an optical 2D-sensor.
The touchless, optical 2D-sensor can be a 2D camera at the front side.
The touchless, optical 2D-sensor can be a 2D camera at the back side.
The touchless sensor can be an optical 3D-sensor.
The touchless, optical 3D-sensor can be a 3D camera at the front side.
The touchless, optical 3D-sensor can be a 3D camera at the back side.
The touchless, optical 3D-sensor can be a stereo-camera.
The touchless, optical 3D-sensor can be a camera, which is based on the time-of-flight technique.
The touchless, optical 3D-sensor can be a plenoptic camera respectively light-field camera.
The touchless, optical 3D-sensor can be a camera, which is based on the structured light technique.
The touchless sensor can be an acoustical 2D-sensor.
The touchless, acoustical 2D-sensor can be a 2D microphone at the front side.
The touchless, acoustical 2D-sensor can be a 2D microphone at the back side.
The touchless sensor can be an acoustical 3D-sensor.
The touchless, acoustical 3D-sensor can be a 3D microphone at the front side.
The touchless, acoustical 3D-sensor can be a 3D microphone at the back side.
The touchless, acoustical 3D-sensor can be a stereo-microphone.
The touchless, acoustical 3D-sensor can be a microphone, which is based on the time-of-flight technique.
The touchless, acoustical 3D-sensor can be an acoustical wave-field microphone.
The touchless, acoustical 3D-sensor can be a microphone, which is based on the structured acoustical wave technique.
The touchless sensor can be a sensor to track the movement of the device itself.
The touchless movement sensor can be an inertial sensor.
The touchless movement sensor can be a compass.
The touchless movement sensor can be a clinometer.
The touchless movement sensor can be an accelerometer, which is combind with at least one angular rate sensor to an inertial measurement unit.
The touchless movement sensor can be an accelerometer, which is combind with at least one gyroscope to an inertial measurement unit.
The device can have at least one sensor and a control system, that switches off the areas of the display that are covered.
The device can have at least one additional source of electromagnetic radiation.
The additional source of electromagnetic radiation can emit infra-red light.
The device can have at least one additional source of mechanical waves.
The additional source of mechanical waves is a loudspeaker.
The device can have a communication interface to other computer systems on the basis of infra-red light.
The device can have a communication interface to other computer systems on the basis of the radio technology.
The device can have a contact-based connect- ion to an external power supply.
The device can have a wireless power supply on the basis of induction.
The device can have a flexible respectively bendable battery as its own internal power supply.
The flexible respectively bendable battery can have at least one electronic component, that is connected to a further electronic component of the device by at least one (zigzag respectively s-shape) spring as stretchable wire.
The flexible respectively bendable battery can be made out of a synthetic rubber.
The flexible respectively bendable battery can be made out of a silicone rubber.
The flexible respectively bendable battery can be made out of a polychloroprene.
The flexible respectively bendable battery can be made out of a nitrile rubber.
The flexible respectively bendable battery can be made out of a polyurethane.
The flexible respectively bendable battery can be made out of PolyDiMethylSiloxane (PDMS).
The flexible respectively bendable battery can be made out of a polyimide.
The flexible respectively bendable battery can be made out of a woven fabric with seperators made out of a (microporous) ceramic coated film.
The flexible respectively bendable battery can be made out of a non-woven fabric with seperators made out of a (microporous) ceramic coated film.
The flexible respectively bendable battery can have a feature, so that it can be attached to and detached from the flexible respectively bendable case/closure of the device.
The device can have a radio signal receiver.
The device can have a satellite receiver.
The device can have a Global Positioning System (GPS) receiver.
The device can have at least one jack to plug-in other devices.
Problems:
1. Fexible respectively bendable or rollable, visual devices need a case/closure to keep their shapes.
2. Fexible respectively bendable or rollable, visual devices need a case/closure for protection.
Solution: (see above and below)
For sure, the Ultra Devices are combined with the Ontoscope and the intelliTablet technologies already, and can also be integrated with our clever iFlex technology. Advantageously, they are light- weight, slip-resistant, shockproof, splashproof, or even waterproof and floatable.
As examples, the figures below show a variant of the flexible/bend- able, foldable, rollable and even stretchable electronic visual display with two flexible parts connected by an optional hinge in closed and opened states with different angles.
The figure 1 shows an electronic visual device in closed state and with the flexible display outside (1) with flexible case part (2), flex- ible case part (3), and hinge (4) as 2D cross-sectional view from the side.
The figure 2 shows an electronic visual device in closed state and with the flexible display inside (1) with flexible case part (2), flexible case part (3), and hinge (4) as 2D cross-sectional view from the side.
The figure 3 shows an electronic visual device in opened state (1) with flexible case part (2), flexible case part (3), and hinge (4) in the variant with a flexible material and a accordion-/bellow-like folding mechanism (5) as 2D cross-sectional view from the side.
The figure 4 shows a two-part device in closed state with the flexible display outside and the case parts touching each other (1) with flexible case part (2), flexible case part (3), and hinge (4) as 2D cross-sectional view from the side.
The figure 5 shows an electronic visual device in opened state (1) with flexible case part (2), flexible case part (3), hinge (4), flexible display (6), first lens of the stereo-camera (7), second lens of the stereo-camera (8), loudspeaker (9), and microphone (10) from top-down.
The figure 6 shows an electronic visual device in sandwich-structure and opened state (1) with flexible case/closure (11), display layer (12), support layer for the display (13), layer with electronic syst- ems (13), and layer with battery/accumulator (14) as 2D cross-sectional view from the shorter side.
© Ontonics
The invention and all related designs (see for example the Original vs. Inspiration of today below) are copyrighted and patent pending.
Original vs. Inspiration 5:00 and 15:00 CET
As further examples in relation with the Ontonics Further steps of today (see above), the images show a sheet of synthetic rubber, a design concept of a lamp based on synthetic rubber and an Organic Light-Emitting Diode (OLED) sheet, a prototype of an electronic skin patch, as well as flexible respectively bendable and stretchable elec- tronic devices.


© Fullchance Rubber Sheet, System Design Studio, University of Illinois at Urbana-Champaign, Northwestern University and Felice Frankel, :(, and University of Leeds.
Looks easy to make, but in practice this is not the case, definitely.
Bwaaah? Meep! Meep!
24.July.2014
Comment of the Day
"Burning a library's index cards doesn't make the books disappear [and] Destroying the index does not destroy the book.", [Two Bloggers, Today]
Ontonics Further steps
We designed a new system series.
25.July.2014
Ontonics Further steps
We developed some solutions further by taking a slightly different architecture to increase the user comfort.
Style of Speed Further steps
In relation with the Further steps of the 31st of December 2013 we made more enhancements.
26.July.2014
Image of the Day
Internet Bro Fist, aka. Internet Sis Fist
© :(
29.July.2014
Original vs. Inspiration
Plasma Wireless Supercomputer (WiSer)

© :(
See also the Ontonics Further steps of the 13th of July 2014 and the Original vs. Inspiration of the 14th of July 2014.
By the way: Do not be fooled by a picture that looks like an inte- grated semiconductor component with circularly arranged sub-comp- onents or even a Wiser, because it is just only the lumped element filter segment for the 128 input lines of a different computer. The media showed it instead of the chip of the related company to confuse their readers only.
Ontonics Further steps
We developed two different variants of a basic component.
We also found some new ideas in relation with our endeavours in the field of Nuclear Energy 2.0, that most potentially fulfill our require- ment specification and offer some new solutions. Literally spoken, this is very hot, specifically in connection with the home energy reactor Mr. Fusion.
Imagine, it is a beautiful day, the weather is under control, the natural sun is shining, the birds are singing, bwah bwah bwah ..., and your speeder bike or swoop customized by Style of Speed has its Mr. Fusion reactor cell refueled and is ready for a ride to the next BBQ and in the evening for cruising to the next drive-in hover-in.
Who said Graffiti Gravity?
30.July.2014
Comment of the Day
American gravity
Clarification
We would like to give some few interesting informations and insights in relation to our newest Wiser architectures (see also the Ontonics Further steps of the 13th of July 2014 and the Clarification of the 16th of July 2014) and its comparison to computing systems based on a quantum effect.
1. A Wiser is designed as a universal computer.
2. Around the year 2000 a basic device could factorize a 512-bit number in around 5 weeks. We have developed the device further in several ways and today it is an optional component that in its initial form is at least 3 magnitudes faster. At this point we have neither used the system immanent feature of point-to-multipoint inter- connection nor the optional feature of interference of a Wiser. In contrast, for example quantum annealing cannot be applied with Shor's algorithm and with more general algorithms.
3. With its overall system design and the point-to-multipoint inter- connection a Wiser overcomes one of the main bottlenecks of common supercomputers.
4. By using interference of wave propagation a Wiser can exhibit the principle of superposition of waves. In the case that the system nodes are arranged in a ring topology the number of wave sources corresponds to the number of compute nodes divided by 2 in the best case and to higher numbers with more specialized arrangements of the system nodes. The result of an interference can be made available to all other nodes in a shorter periode of time than a comp- ute node can handle the result for further processing. In this con- text we talk about a system node bandwith in the range of Gbit/s.
5. We developed the Wiser approach in such a way that it offers a seamless interface to common physical devices in contrast to actual quantum computers or devices claimed to be quantum computers, that virtually and literally are very isolated islands.
7. In general, a Wiser does not need a cryocooler to cool system components down close to absolute zero to remove for example the jostling of the used atomic particles, which works against quantum entanglement. Said this, a Wiser can be used instantaneously at room temperature. But actual quantum computers or similar devices based on some kind of quantum effect that need to be so cold virt- ually and literally are very isolated islands.
Because a quantum computer or a computing device used for e.g. quantum annealing needs an interface and common physical devices as a connection to the external environment, so that it can be use- fully operated, these interface and physical devices are in fact the bottlenecks and perhaps the largest power consumers of an overall quantum computing system. Indeed, this is an example of Amdahl's law which says that in a parallel algorithm the maximum amount of parallelism that can be achieved is limited by the serial parts of the algorithm. Translated to the field of quantum computing it means that the speedup of a program using a quantum processor is limited by the time needed for the loading of the program. The situation is comparable with making one shot with the Large Hadron Collider (LHC) that needs a relatively long pre-processing time and produces enourmous amounts of data, which again needs a relatively long post-processing time.
Now, there exists a trade-off between the space needed for a Wiser, its delivered computing power, and its practicability on the one side and the same aspects of a quantum computer on the other side. If all external dependencies and requirements needed to operate such a quantum computer are compared in more detail with a Wiser, then a quantum computer looses more and more of its advantages.
For example, take a look at the refrigerator needed to cool down a quantum computer or a similar device. It might be the case already that a quantum computer will be larger than the next generation of our Wiser without delivering a true advantage in practice. Also, a quantum computing system cannot be connected with a further computing system by a wireless communication/network system due to the electromagnetic interference, which has to be avoided as much as possible even in the case that a computing device based on quantum effects is based on noisy, high error-rate qubits.
8. A Wiser is highly energy efficient. As a starting point for an estim- ation of the power consumption of a specific Wiser configuration for stationary use simply put the power consumption of one compute node on the level with a Graphics Processing Unit (GPU), that feat- ures two processors and has a power consumption of 500 Watts, and then divide the overall result by at least 2. In the case of a Wiser configuration for mobile use assume a power consumption in an acceptable low range.
9. Furthermore, the realization of a mobile quantum computer seems to be illusive for a longer periode of time.
10. A Wiser can be put into a cyrogenic refrigerator as well.
Actual computing devices based on quantum effects are very inter- esting, specifically from a conceptual point of view, but they vastly suffer from the problems of interfacing and scaling.
Due to its originality and uniqueness, we claim copyright for the Wiser paradigm.
It is always better to collaborate with us.
31.July.2014
Ontonics Website update
We planned to give this notice on the 29th of July 2014 already, which also explains the image of the Original vs. Inspiration of the same day, but somehow the rework of the description of the original and unique Wiser paradigm took some more time.
In detail, we have not changed much with the exceptions of using some beautifying wording, rearranging some sentences, and separat- ing the information about the utilization of our electromagnetic radi- ation collectors, that can be found now in the new point about the seventh expansion stage and in the extension of the point about the eighth expansion stage.
Ontonics Further steps
We developed the technology further, that was mentioned on the 15th of December 2013, is related with one technology mentioned in the Further steps of the 29th of June 2014, and could be connected with the technology mentioned in the Further steps of the 26th of June 2014. Now, it has a higher performance and can be used in more fields of application.
| |
|